1520 John Deere pto

   / 1520 John Deere pto #22  
Thanks. A picture is worth a thousand words - and you have six!


Pix 4.5 & 6 show the Diff Lock pedal (serrated foot grip) and the TWO speed PTO Range selector. (Flat Bar lever with the Question Mark (?) shaped hook)

If you look at Pic 6 you can see (on the extreme left edge) the same PTO symbol you refer to in an earlier post It is cast into the side of the transmission casing. There may be another hidden behind the lever as well. (I can't recall). It's in the 540rpm position and you move it forward for 1000rpm I think.



There are 4 gears/speeds in the transmission so with the Range shift in 'Low' you get gears 1-4 then shifting to 'High' you get gears 5-8.

Jim may correct me here but I think you only get 4 x Low speed gears in the Reverse position.
Regards,
:wrench:

I agree there are only 4 reverse speeds all in low range. Lever(key 1) that resembles a question mark must be in forward position for pto to operate. Changing pto speeds if equipped which BTW I never seen(540 to 1000 & vice versa) is accomplished by changing rear pto stub shafts """"not by moving lever on LH side of trans case""".
HTH's,Jim
 

Attachments

  • Capture.PNG
    Capture.PNG
    44.9 KB · Views: 200
   / 1520 John Deere pto #23  
My husband purchased this from the person who bought it at the estate sale of a local farmer. The original owner was known to take great care of his property. The person who bought it has only had it a couple of months and is only sold because he wants a zero turn mower. The PTO works fine, engages, disengages, and stops. It is the lever in between the gear shifts that we are asking about. The lever does not seem to have any effect on the operation of the pto regardless of the position it is in. We are unsure what is the off position and what is the on position. We know what the lever is supposed to do. We think the hydraulic valve or something else may be stopped up or if the valve is bad.

Had the impression until that post the pto was non functional.
 
Last edited:
   / 1520 John Deere pto #24  
Welcome to TBN
One can move the pto lever forward or up to engage at any time moving or sitting still,move lever opposite direction to stop pto. Be sure lever by left heel when sitting in seat is moved forward when engine isn't operating or no load on pto shaft.

In this reply #2, TxJim explained the side lever (left heel) to engage/disengage the PTO using the foot clutch pedal, as well as the top lever (between the gear shifters) that operates the PTO clutch (this allows starting and stopping the PTO independent of the tractor usage).
Hopefully lady member junkin101 has it figured out and can instruct her husband how it functions, and it functions okay.
 
   / 1520 John Deere pto #25  
I thought the 1520 has several combination/options of PTO (Including no PTO at all - a blanking plate could be fitted): Rear 540 RPM, Rear 540-1000, Rear & Mid PTO, Rear Independent PTO with/without Mid-PTO...

It had optional hydraulic Reverser clutch as well.

For interest all the options are shown in the Parts Catalogue under Section 50 (Power Train) from where Jims pic of the "Question Mark" Lever is shown in Section 50 Page 73 (Rear Power Shaft Shifter Linkage).

In the same Section 70 Page 65 we can see the 540 RPM PTO Driven gear and shaft:
Gears & Shafts (540 RPM PTO) ( Less Independent PTO) T15851_________UN01JAN94.gif

The 2-speed 540-1000 RPM PTO Gear-set is shown on S.50 Page 66:
Gears & Shafts (540 - 1000 RPM PTO) (Less Independent PTO) T17900_________UN01JAN94.gif

With the Hydraulic Control Valve there is "Independent" PTO drive, allowing 540-only RPM PTO, 540-1000 RMP, With/without Mid PTO etc.

Operator-Reversable PTO stub shaft gave the option of coarse or fine spline drive.


A very versatile and advanced machine for its day.

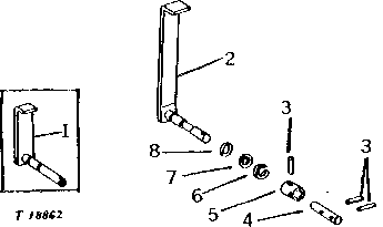
Mid-mount PTO was engaged from a lever on the opposite side of the trans to the "Question Mark" lever:

Mid Power Shaft Shifter Linkage T18862_________UN01JAN94.gif
 
Last edited:
   / 1520 John Deere pto #26  
Independent PTO 540-1000 RPM with Mid-PTO:

Gears & Shafts (540-1000 RPM) (Independent PTO) (Mid-PTO) T17891_________UN01JAN94.gif

from S.50 Page 71.
 
   / 1520 John Deere pto #27  
In this reply #2, TxJim explained the side lever (left heel) to engage/disengage the PTO using the foot clutch pedal, as well as the top lever (between the gear shifters) that operates the PTO clutch (this allows starting and stopping the PTO independent of the tractor usage).
Hopefully lady member junkin101 has it figured out and can instruct her husband how it functions, and it functions okay.

Ain't no such thing as a two stage clutch combined with the independent hydraulic pto. Don't be engaging the side lever with anything pto related rotating. Infact just leave the pto lever on the side of the transmission case engaged and don't touch it again. only use the independent pto hydraulic control between the two transmission shifters.
 
   / 1520 John Deere pto #28  
Welcome to TBN
One can move the pto lever forward or up to engage at any time moving or sitting still,move lever opposite direction to stop pto. Be sure lever by left heel when sitting in seat is moved forward when engine isn't operating or no load on pto shaft.

Agreed

My husband purchased this from the person who bought it at the estate sale of a local farmer. The original owner was known to take great care of his property. The person who bought it has only had it a couple of months and is only sold because he wants a zero turn mower. The PTO works fine, engages, disengages, and stops. It is the lever in between the gear shifts that we are asking about. The lever does not seem to have any effect on the operation of the pto regardless of the position it is in. We are unsure what is the off position and what is the on position. We know what the lever is supposed to do. We think the hydraulic valve or something else may be stopped up or if the valve is bad.

If PTO works reguardless of the position lever between shifters, there is a problem with the valve it controls or the pressure regulating valve. There are two test posts to check PTO clutch and PTO brake pressure.

Thanks. A picture is worth a thousand words - and you have six!

L-R = 1-6

Pix 4.5 & 6 show the Diff Lock pedal (serrated foot grip) and the TWO speed PTO Range selector. (Flat Bar lever with the Question Mark (?) shaped hook)

If you look at Pic 6 you can see (on the extreme left edge) the same PTO symbol you refer to in an earlier post It is cast into the side of the transmission casing. There may be another hidden behind the lever as well. (I can't recall). It's in the 540rpm position and you move it forward for 1000rpm I think.

The levers in Pics 1-3 are L-R:

Transmission Range Shift & Park Lock-Out.
PTO Engage.
Transmission Shift.

The 4 positions on the Range Shift are:
P - Park
L - Low Range
H -High Range
R- Reverse Range

There are 4 gears/speeds in the transmission so with the Range shift in 'Low' you get gears 1-4 then shifting to 'High' you get gears 5-8.

Jim may correct me here but I think you only get 4 x Low speed gears in the Reverse position.

Park locks the transmission and allows you to (I think) operate the PTO independently without driving/moving forward. (So if you were operating a saw table or water pump or log-splitter perhaps) - Again Jim may correct me here.

Tractor has had a nice paint-job. How many hours on the clock? What are you intending to use it for?

Regards,
:wrench:
The question mark shaped is to mechanically engage and disengage the PTO shaft. Internally there is a sliding collar that connects two shafts that "butt" together, making a mechanical connection.
It is NOT to change PTO speeds. IF the tractor has the 540 & 1000 rpm PTO option it would have an extra PTO shaft you swap after removing a snap ring. Easy way to tell is if the housing for the PTO shaft rear most bearing is triangle shaped and held on by 3 bolts, its a single 540 rpm PTO.

I agree there are only 4 reverse speeds all in low range. Lever(key 1) that resembles a question mark must be in forward position for pto to operate. Changing pto speeds if equipped which BTW I never seen(540 to 1000 & vice versa) is accomplished by changing rear pto stub shafts """"not by moving lever on LH side of trans case""".
HTH's,Jim

Agreed

I thought the 1520 has several combination/options of PTO (Including no PTO at all - a blanking plate could be fitted): Rear 540 RPM, Rear 540-1000, Rear & Mid PTO, Rear Independent PTO with/without Mid-PTO...

It had optional hydraulic Reverser clutch as well.

For interest all the options are shown in the Parts Catalogue under Section 50 (Power Train) from where Jims pic of the "Question Mark" Lever is shown in Section 50 Page 73 (Rear Power Shaft Shifter Linkage).

In the same Section 70 Page 65 we can see the 540 RPM PTO Driven gear and shaft:
View attachment 514321

The 2-speed 540-1000 RPM PTO Gear-set is shown on S.50 Page 66:
View attachment 514323

With the Hydraulic Control Valve there is "Independent" PTO drive, allowing 540-only RPM PTO, 540-1000 RMP, With/without Mid PTO etc.

Operator-Reversable PTO stub shaft gave the option of coarse or fine spline drive.


A very versatile and advanced machine for its day.

Mid-mount PTO was engaged from a lever on the opposite side of the trans to the "Question Mark" lever:

View attachment 514325

If equipped with a mid PTO, the mechanical engage/disengage lever is on the SAME (left) side as the rear PTO engage/disengage lever, just forward of it.
 

Tractor & Equipment Auctions

1997 Perkins 75KW Towable Diesel Generator (A56857)
1997 Perkins 75KW...
Diamond C Trailers 26ft T/A Flatbed Tilt Trailer (A55787)
Diamond C Trailers...
2017 Ford Taurus AWD Sedan (A55853)
2017 Ford Taurus...
Kubota BX25D (A53317)
Kubota BX25D (A53317)
2019 ALLMAND BROS, INC. ALLMAND BROS, INC. (A55745)
2019 ALLMAND BROS...
2015 Chevrolet Express 4500 Shuttle Bus (A56858)
2015 Chevrolet...
 
Top