My tractor's loader joystick seems to be binding during the curl action... It seems ok for raising/lowering. It worked ok earlier this year, but I didn't use the tractor for a few months and now it seems messed up. Any ideas? Thanks much.
My tractor's loader joystick seems to be binding during the curl action... It seems ok for raising/lowering. It worked ok earlier this year, but I didn't use the tractor for a few months and now it seems messed up. Any ideas? Thanks much.
I would drain all fuel and replace fuel filter. Never know what has been poured into the tank, or how clean the container was. I remember reading something very similar on here a couple years ago. Guy finally took the filter assembly off and found a spider at the oiler was the issue. Might be a cheap fix- or peace of mind at the very least.
My tractor's loader joystick seems to be binding during the curl action... It seems ok for raising/lowering. It worked ok earlier this year, but I didn't use the tractor for a few months and now it seems messed up. Any ideas? Thanks much.

My tractor's loader joystick seems to be binding during the curl action... It seems ok for raising/lowering. It worked ok earlier this year, but I didn't use the tractor for a few months and now it seems messed up. Any ideas? Thanks much.
I'd re-set the connectors if not done already, and maybe switch FEL lines from lift to curl functions to see if the problem follows the function.
Then would look at getting a pressure gauge to check what the oil pressure is at each line to your FEL.
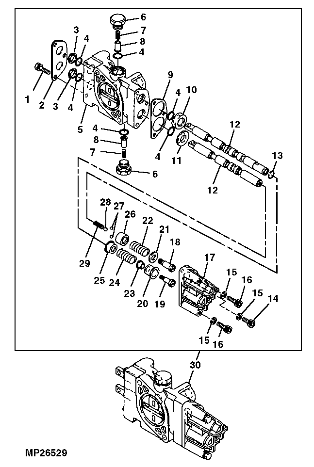
WD40 is a terrible lubricant, but certainly better than nothing. If the linkages are not binding, I would suspect the detent springs in the valve-the parts inside the cover #17, the grease could be hard from age or who knows what.
There are a lot of parts in there, and you'd have to remove the valve to do it right...sorry I don't have any other magic solutions for you.
View attachment 479720
Kenny- what lubricant would you have recommended?



