Willl
Elite Member
Is that just a broken fitting ?
If so, why are we talking welding ?, easyout that sucker and lets move on.
If so, why are we talking welding ?, easyout that sucker and lets move on.
Like I said, I am not a cylinder guy so just repeating what he said. Being that he is making no money off of me by having to buy another cylinder at some point, I didn't see any reason not to believe him. Has anyone on here actually rebuilt one? Just curious now how difficult it was or if there were any gotchas.
In any case, thanks again for the advice. This place is the best.
Regards,
-Jeff
So this isn't a fitting you can easy-out ?
I have rebuilt mine which are similar, and talked many others here on TBN through it. It is not rocket science.
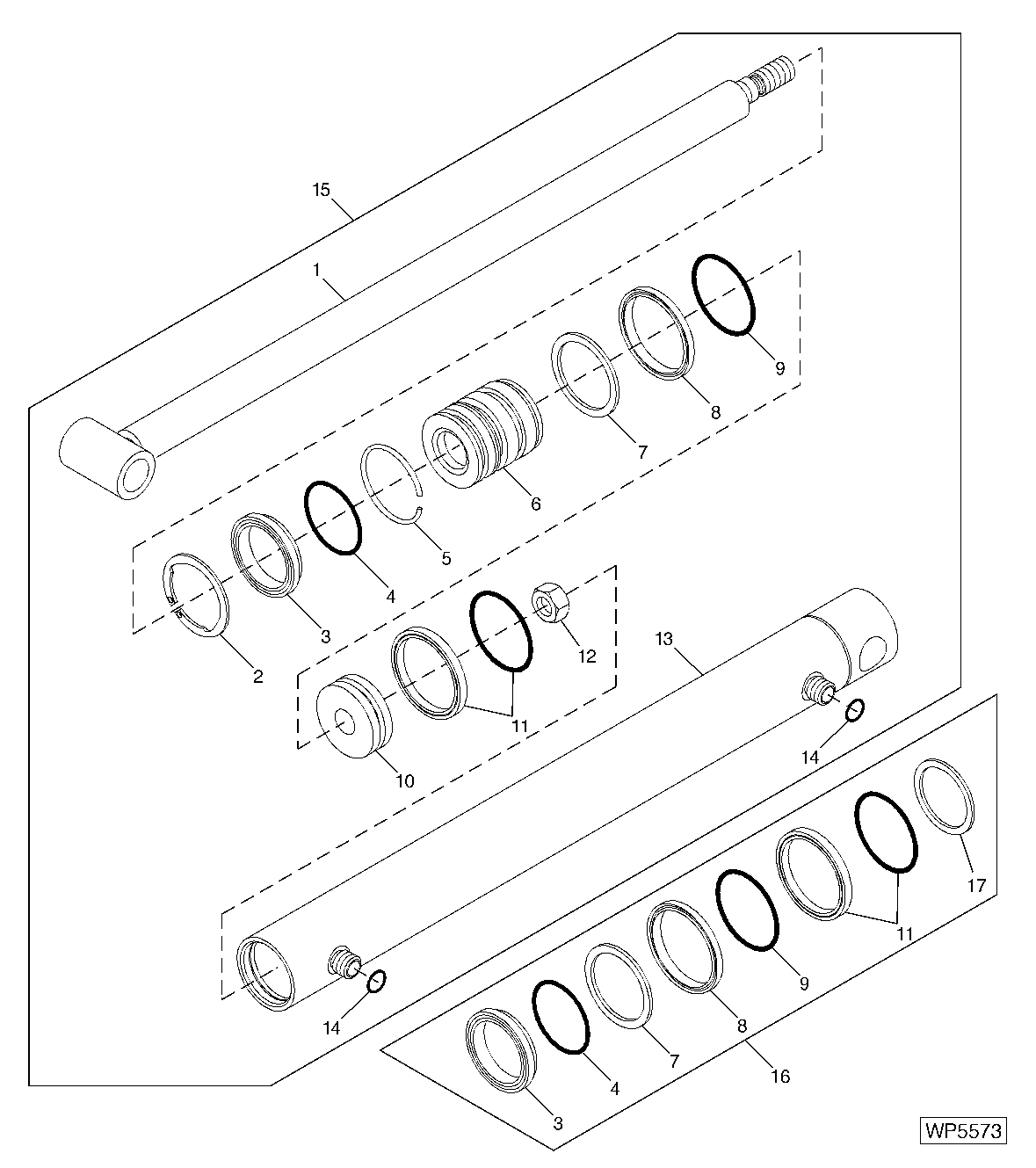
The seal kit is part number AH176274, and list's for $29.69 on jdparts.com. Below is a breakdown of the cylinder: