Differential locking pedal input

/ Differential locking pedal input #1  

shortthrow50

Platinum Member
Joined
Jan 12, 2012
Messages
930
Tractor
2012 John Deere 3520 Deluxe Cab
Seems awfully difficult to engage prior to any wheel slippage. To get the thing to engage you really have to stand on the pedal. This is on a 3520 cab tractor. Things are setup alot different on cab models than the open stations so I assume there would be a difference. Sometimes if the rear wheel is already spinning, it will go right in. However, it would be nice to engage beofre spinning (and not have to blow out my knee trying to engage)when you know its gonna happen. Any info on this feature would be great or is it something it needs to be looked at next time it goes in. thanks
 
/ Differential locking pedal input #2  
Think of it as a pin going into a hole. The hole and the pin need to line up. If you are headed into a soft area, try gently turning the left or right while gently pressing on the diff lock. Making a slight curve is often all it takes to get one wheel traveling slightly farther than the other to make the lock engage. I wouldn't be trying to lock the differential with one wheel already at speed and the other not moving.
 
/ Differential locking pedal input #3  
I very seldom have any call for engaging the diff. lock. Seems 4wd engagement handles most situations.
But I do find the diff. lock (at least on my 4300) to be tentative at best. Sometimes locks well and other times just doesn't seem to line up. But I try to avoid engaging it while one wheel is spinning, as it is a positive mechanical movement of fingers engaging without a clutch allowing some slipping. Too easy to break something if engaged while moving.
Best seems to be to come to wheel stop, push/step on pedal, and then begin forward/reverse movement easing into it as the mechanical fingers align and engage.
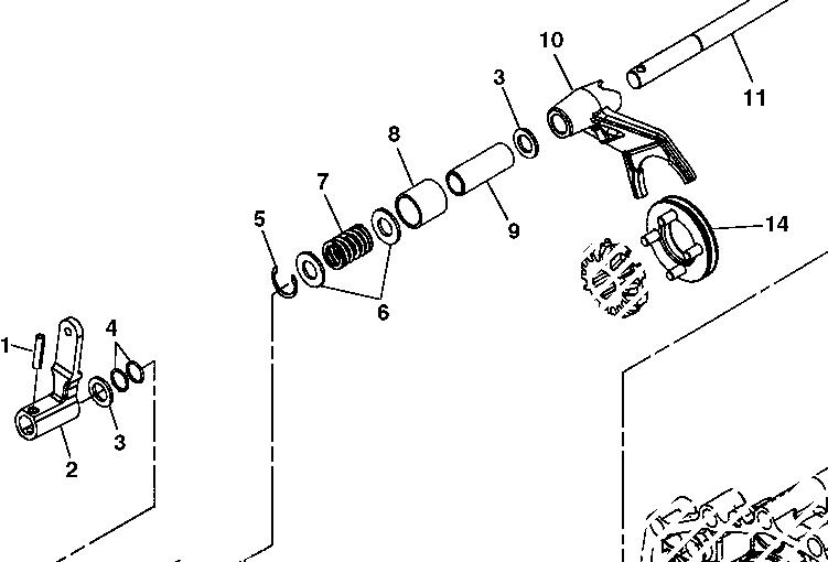
jdparts might show how your 'fingers' are engaged through the linkage with the pedal.

Here is shot of the pins that have to line up for lock. And I hear that they can shear off. (ouch!) (item #14 )
Item 7 is the spring that pops it out of 'lock'
 

Attachments

  • 3520_diff_lock.JPG
    3520_diff_lock.JPG
    41.3 KB · Views: 1,136
/ Differential locking pedal input
  • Thread Starter
#4  
I very seldom have any call for engaging the diff. lock. Seems 4wd engagement handles most situations.
But I do find the diff. lock (at least on my 4300) to be tentative at best. Sometimes locks well and other times just doesn't seem to line up. But I try to avoid engaging it while one wheel is spinning, as it is a positive mechanical movement of fingers engaging without a clutch allowing some slipping. Too easy to break something if engaged while moving.
Best seems to be to come to wheel stop, push/step on pedal, and then begin forward/reverse movement easing into it as the mechanical fingers align and engage.
jdparts might show how your 'fingers' are engaged through the linkage with the pedal.

I seldom use it as well. nice to have more traction even in 4wd while pulling subsoiler. I agree its not good to engage while wheels spinning but it seems as though its the only easy way it likes to drop into engagement. So do you think its just the nature of the beast?
 
/ Differential locking pedal input #5  
Seems awfully difficult to engage prior to any wheel slippage. To get the thing to engage you really have to stand on the pedal. This is on a 3520 cab tractor. Things are setup alot different on cab models than the open stations so I assume there would be a difference. Sometimes if the rear wheel is already spinning, it will go right in. However, it would be nice to engage beofre spinning (and not have to blow out my knee trying to engage)when you know its gonna happen. Any info on this feature would be great or is it something it needs to be looked at next time it goes in. thanks

Well here has been my experience.. you have to have a tire moving slightly most of the time to get the lock to engage, BUT you don't want to be really spinning one tire rapidly and let it hit with a bang either. So what I do is press down moderately on the lock pedal, and then move forward or backward, gently until it engages and starts to yank you out of the hole. Then release the pedal and the pedal will soon disengage by itself and you will usually hear a pop or click when it does. There are just so many slots for it to engage into and you have to find one of them. But it can be damaged if you hit it too hard. I have never had any trouble with any of them on the 5 tractors I have owned, but if your experience is different, then perhaps you should have it looked at.

James K0UA
 
/ Differential locking pedal input
  • Thread Starter
#6  
Think of it as a pin going into a hole. The hole and the pin need to line up. If you are headed into a soft area, try gently turning the left or right while gently pressing on the diff lock. Making a slight curve is often all it takes to get one wheel traveling slightly farther than the other to make the lock engage. I wouldn't be trying to lock the differential with one wheel already at speed and the other not moving.

noted and will head to the advice and give it a try that way
 
/ Differential locking pedal input #7  
On my 3320 I find it best not to stand on the pedal. Just put some light pressure on the pedal and it will engage when it needs to, it just sorta drops into place. On places that I know I will need the lock, like backing out of a hole with a loader load of wet dirt, I start the engage even before entering the hole. The thing will lock up going in, allow me to really dig into a pile of dirt, and let me pull out with no issue. Works for me.
 
/ Differential locking pedal input
  • Thread Starter
#8  
well it all makes sense now and seems to be operating normal. Just that my first time having this feature with a tractor. It works as all of you suggest. Turn the wheel a little and using somewhat light pressure. All your suggestions seem to work. I thought it was just supposed to glide right in easily under any circumstance but i was wrong. Thanks everyone for all your input
 
/ Differential locking pedal input #9  
X2 here with Cocre. Use mine mostly digging/moving material in some rough terrain. Generally, know ahead of time that backing up with a load or moving into the pile if it's sloppy/slippery that even in 4x4 it'll be a chore to get out.

Locking the big, rear wheels is a real asset at those times! :thumbsup:

AKfish
 

Marketplace Items

2023 Land Pride RCF2060 5ft. Rotary Brush Cutter Tractor Attachment (A66734)
2023 Land Pride...
2023 Unused Del Morino CS158M Agricultural Flail Mower Tractor Attachment (A66734)
2023 Unused Del...
CATERPILLAR ENGINE (A67714)
CATERPILLAR ENGINE...
2014 FREIGHTLINER CASCADIA (A67714)
2014 FREIGHTLINER...
2016 FORD TRANSIT (A66091)
2016 FORD TRANSIT...
2012 PETERBILT 388 (A67714)
2012 PETERBILT 388...
 
Top