Snow Engine stalls after 20 minutes, gas starved?

   / Engine stalls after 20 minutes, gas starved? #21  
I had a similar situation with my Snapper Rider. I was using one of those big clear filters that I got at the auto parts store. When I replaced it with a small red filter from the Snapper dealer, the problem cleared up. I have no idea why.
 
   / Engine stalls after 20 minutes, gas starved? #22  
not all filters are rated for gravity feed. some require a fuel pump.. etc..
 
   / Engine stalls after 20 minutes, gas starved?
  • Thread Starter
#23  
What happens if you disconnect the gas line from the tank (before the filter and pump) and just let it run into a container (with the tank cap on) for 10 mins?
That should let you diagnose a tank blockage or cap vent failure issue fairly easily.

Aaron Z

Okay I tried that with about half a gallon of gas in the tank. It is just dripping out. I took cap off and same drip flow. Is that the problem? I would think it would flow much better then that? I will replace gas line. How do you clear the gas tank?
 
   / Engine stalls after 20 minutes, gas starved? #24  
Okay I tried that with about half a gallon of gas in the tank. It is just dripping out. I took cap off and same drip flow. Is that the problem? I would think it would flow much better then that? I will replace gas line. How do you clear the gas tank?
That is the problem, it should flow out freely. Can you shine a light into the tank to see if there is something in the outlet?
Your problem is either:
1. Junk in the tank plugging the outlet
2. Junk in the fuel line plugging it up.

Try blowing (with your mouth or low pressure compressed air) backwards in the fuel line and see if that takes care of the problem. Long term you may need to remove the tank to clean it.

Aaron Z
 
   / Engine stalls after 20 minutes, gas starved? #25  
I 'll bet this is the problem. Line swells and closes where there is a bend in the run. Mine was in back under the tank (couldn't be seen w/o removing tank). It didn't look like it should be a problem, but it was.

Had a similar problem. Rebuilt carb again and again. Changed fuel filters. Fooled around with gas cap in case vent was blocked. Turned out the fuel line from the tank had been destroyed by the E10. The weakened line kinked where it left the tank and made a 90 turn towards the engine. Line looked ok, but was weak internally and it closed off the gas flow. Took me months to figure it out.
 
   / Engine stalls after 20 minutes, gas starved? #26  
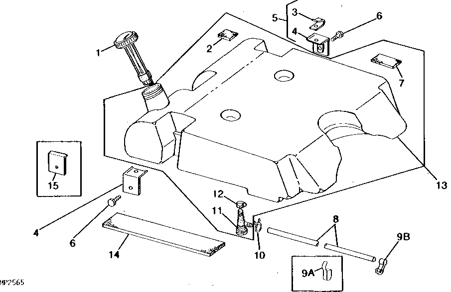
If this is your set-up, I wonder if the drain valve which includes strainer and filer could be clogged. It is part # 11
MP2565_________UN01JAN94.gif
 
   / Engine stalls after 20 minutes, gas starved? #27  
might be junk IN the line too... or if there is a needle valve outlet.. that might be plugged

on some occasions i have seen hoses collapse or come apart and swell internally and not be noticed fromt he outside. this ethanol gas don'ty help.

fuel line on my farm CUV melted togehter onthe inside blocking flow like this. when i pulled it off.. it was gummy...
 
   / Engine stalls after 20 minutes, gas starved? #28  
might be junk IN the line too... or if there is a needle valve outlet.. that might be plugged

on some occasions i have seen hoses collapse or come apart and swell internally and not be noticed fromt he outside. this ethanol gas don'ty help.
fuel line on my farm CUV melted togehter onthe inside blocking flow like this. when i pulled it off.. it was gummy...
I have also. And considering his so old, replacing the hose to the tank might be a good idea.
 
   / Engine stalls after 20 minutes, gas starved? #29  
can't hurt.. especially if it ws only dripping...
 
   / Engine stalls after 20 minutes, gas starved?
  • Thread Starter
#30  
If this is your set-up, I wonder if the drain valve which includes strainer and filer could be clogged. It is part # 11
View attachment 308509

This is my exact setup. I had the Kohler engine before. BTW the valve knob (part #11) only turns about a 1/4 of a turn and does NOT shut off the gas at present. Should it?

I pushed compressed air both ways from the tank fuel fill with rag wrapped around to seal and then from the hose line back towards the tank and that did it for now. Gas free flowing again! for now. I will probably need to take tank off and clean it and replace part 11 this summer.

With cozy cab on probably more then what I want to do in the cold right now. I can barely type with how cold my hands are. If push comes to shove aux tank setup will be my backup for any more snow storms if she clogs up again.

Thanks again for all of the guys help and further thoughts and answer to my question above as always welcome and appreciated.
Regards, Bruce
 
Last edited:

Tractor & Equipment Auctions

JOHN DEERE LAWN MOWER (A55758)
JOHN DEERE LAWN...
2019 John Deere 410E 40 Ton Articulated Off-Road T/A Dump Truck (A53421)
2019 John Deere...
2020 BOBCAT E32 EXCAVATOR (A52707)
2020 BOBCAT E32...
UNUSED SDLANCH SDLD25 CRAWLER DUMPER (A57192)
UNUSED SDLANCH...
2020 Terex RL4 Towable Light Tower (A55851)
2020 Terex RL4...
2019 Fontaine EQ1 Hydraulic Equalizing Spreader (A52377)
2019 Fontaine EQ1...
 
Top