Help in Hydr. Motor with hydraulic clutch port.

   / Help in Hydr. Motor with hydraulic clutch port.
  • Thread Starter
#11  
Thanx for the photos man! They look great. But I am a little deficient in engineering and I have not many tools either (other than a CNC Plasma cutter).

Or why not a simple cartridge sequence valve with reverse flow check? That may be the more convenient way
 
   / Help in Hydr. Motor with hydraulic clutch port. #12  
The sequence and check valve will work as long as the check vents to tank. That would require a motor spool if connected to the motor port.
 
   / Help in Hydr. Motor with hydraulic clutch port. #13  
The real question is what is considered free wheeling,... How much energy (pounds pull) will it take to unspool (freewheel) the cable/winch drum...

The valving is simple, apply pressure to clutch port motor is engaged, remove pressure from clutch port motor disengages, its all there in data sheet....... You are making valving more complicated then it needs to be... Single (one) valve to control clutch, single (one) valve to control motor rotation...

clutch-valve.jpg


Dale
 
Last edited:
   / Help in Hydr. Motor with hydraulic clutch port.
  • Thread Starter
#14  
The real question is what is considered free wheeling,... How much energy (pounds pull) will it take to unspool (freewheel) the cable/winch drum...

The valving is simple, apply pressure to clutch port motor is engaged, remove pressure from clutch port motor disengages, its all there in data sheet....... You are making valving more complicated then it needs to be... Single (one) valve to control clutch, single (one) valve to control motor rotation...

View attachment 586943


Dale

You may be right. Simple is what I want to keep.
 
   / Help in Hydr. Motor with hydraulic clutch port.
  • Thread Starter
#15  
The real question is what is considered free wheeling,... How much energy (pounds pull) will it take to unspool (freewheel) the cable/winch drum...

The valving is simple, apply pressure to clutch port motor is engaged, remove pressure from clutch port motor disengages, its all there in data sheet....... You are making valving more complicated then it needs to be... Single (one) valve to control clutch, single (one) valve to control motor rotation...

View attachment 586943


Dale

You may be right. Simple is what I want to keep. But addind another parallel circuit adds a TEE, the valve, and a drain. But maybe it can get simpler with a tee in the hose on one work port. That way I do not need the extra valve or the drain. Just because I need only one direction on the motor.
Anyway, its not a big deal now, I believe I got how it works.

Thank you everybody!
 
   / Help in Hydr. Motor with hydraulic clutch port. #16  
I think oldnslow is correct, without pressure to the clutch port, the motor should freewheel.Not sure how well just teeing into the work port is going to work. The port will not build any pressure until there is a load on the winch. In other words, if you pull off more cable than you need to pull your log, will the pressure build up enough to work the clutch with very little line load. No information as to how much pressure or flow is needed to engage the clutch. My next question would be do you intend to mount the winch drum directly to the motor. If so what dia drum would you be using and what would be the line speed. I am thinking 200rpms might be pretty quick with the drum directly mounted on or to the motor shaft. Use of gearing would slow the line speed, but would also make unspooling the winch cable a little harder.

My next question is why use hydraulics for the winch. It would seem to me a electric winch would be easier to setup and you woud have the option to use a remote to operate. That way you could be winching while your walking back to the machine after hooking up a log. Using a larger than needed electric winch will help keep battery drain down unlike using to small of atv type winch which woud overheat and kill a good battery. I will assume that since you are wanting to use a 20gpm motor as a winch, you have a large enough engine to keep a battery charged.
 
   / Help in Hydr. Motor with hydraulic clutch port.
  • Thread Starter
#17  
My next question would be do you intend to mount the winch drum directly to the motor. If so what dia drum would you be using and what would be the line speed. I am thinking 200rpms might be pretty quick with the drum directly mounted on or to the motor shaft. Use of gearing would slow the line speed, but would also make unspooling the winch cable a little harder.
Direct yes. 3" in diameter. 8.3ft/sec with no load, 2.6ft/sec when the pressure rises (I use a 2 stage log splitter pump) 22gpm up to 900psi, 7gpm up to 2700psi

My next question is why use hydraulics for the winch. It would seem to me a electric winch would be easier to setup and you woud have the option to use a remote to operate. That way you could be winching while your walking back to the machine after hooking up a log. Using a larger than needed electric winch will help keep battery drain down unlike using to small of atv type winch which woud overheat and kill a good battery. I will assume that since you are wanting to use a 20gpm motor as a winch, you have a large enough engine to keep a battery charged.
A simple 16hp gas engine. I do not think it will produce enough juice to keep the battery charged. The electric winch will empty it fast. Electric winch with remote would be nice, but I cannot keep up with the draw. I havent' done the math, but it feels like there is no way to keep up.

Yeah oldslo is right just a tee probably will not work.
 
Last edited:
   / Help in Hydr. Motor with hydraulic clutch port. #18  
I think oldnslow is correct, without pressure to the clutch port, the motor should freewheel.Not sure how well just teeing into the work port is going to work. The port will not build any pressure until there is a load on the winch. In other words, if you pull off more cable than you need to pull your log, will the pressure build up enough to work the clutch with very little line load. No information as to how much pressure or flow is needed to engage the clutch. My next question would be do you intend to mount the winch drum directly to the motor. If so what dia drum would you be using and what would be the line speed. I am thinking 200rpms might be pretty quick with the drum directly mounted on or to the motor shaft. Use of gearing would slow the line speed, but would also make unspooling the winch cable a little harder.

My next question is why use hydraulics for the winch. It would seem to me a electric winch would be easier to setup and you woud have the option to use a remote to operate. That way you could be winching while your walking back to the machine after hooking up a log. Using a larger than needed electric winch will help keep battery drain down unlike using to small of atv type winch which woud overheat and kill a good battery. I will assume that since you are wanting to use a 20gpm motor as a winch, you have a large enough engine to keep a battery charged.
Because electric winches do not provide the duty cycle to do long pulls steadily without wrecking batteries and tractors usually do not put out enough amps through the alternator to recharge batteries between pulls (30-40 amps).

When winching a vehicle, you usually do not winch for a very long time and the vehicles usually have a big alternator (100+amps).
 
   / Help in Hydr. Motor with hydraulic clutch port. #19  
Most tractors do not have battery/alternator/generator capacities for sustained pulling.... Did a few pulls with my Jeep 10,000 lb winch recently and after about a minute (or less) winch sucked system voltage down to 8 volts and warning lights lit up like Christmas tree in dash.... Jeep has 100 Amp alternator and it was running at about 2000 rpm so full alternator out put and Jeep has large Odyssey AGM battery with 850 CCA and winch sucked it down pretty good....

But it did break a 5/16 1900lb proof chain...

Also makes me think when (if) 100 Amp alternator dies in Jeep I might replace ig with 200 amp for winch work...

Electric winches have their uses in recovery and such , but for sustained pulling (logging, really long pulls, moving stuff) think hydraulic or PTO is best solution...

Dale
 
   / Help in Hydr. Motor with hydraulic clutch port.
  • Thread Starter
#20  
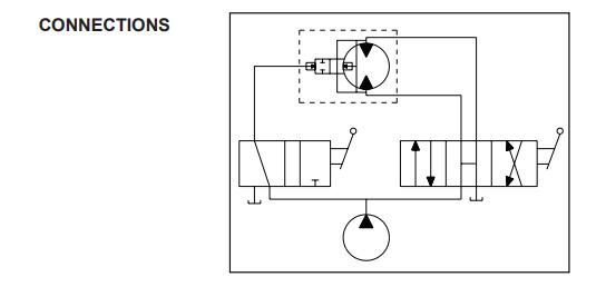
I give it a second thought. In this diagram on their data sheet, clutch-valve.jpg
the clutch port does not really get pressurized in advance, as the oil follow the path of least resistance, which simply is towards the tank through the valve on the right.

So If I do the following connection I do not see why It will not work one direction.
On the reverse, the clutch drains to the tank through the valve.
clutch valve.png

I will try it, worse case scenario it will not work. Nothing will blow up here. :) :)
 

Tractor & Equipment Auctions

CATERPILLAR 312E EXCAVATOR (A52706)
CATERPILLAR 312E...
UNUSED KJ 11' X 19' ALL - STEEL CARPORT (A52706)
UNUSED KJ 11' X...
2016 PETERBILT 579 DAY CAB ROAD TRACTOR (A54756)
2016 PETERBILT 579...
2023 Caterpillar 259D3 Two Speed Compact Track Loader Skid Steer (A53421)
2023 Caterpillar...
2000 Ford Ranger Pickup Truck (A55852)
2000 Ford Ranger...
PALLET OF MISC PUMPS (A54757)
PALLET OF MISC...
 
Top