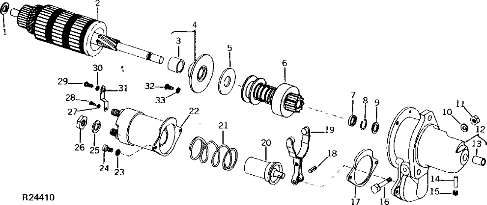
Hello everyone, I have been working on this problem for a while and I cant seem to find the problem. My 2240 wont turn over, it sounds like the armature of the starter is coming out and contacting the flywheel but it wont turn it over. I have replaced the batteries with new 800cca batteries and cleaned the ground and all of the terminal connections. I think that it might be the starter solenoid but I'm not sure. I don't know if I'm losing amps somewhere or what, any help would be greatly appreciated.
