beenthere
Super Star Member
- Joined
- Aug 16, 2001
- Messages
- 18,585
- Location
- Southern Wisconsin, USA
- Tractor
- JD_4x2_Gator, JD_4300, JD_425, JD_455 AWS, added JD_455, JD_110, JD_X485(sold)
Need to figure out which 320 model this one is.
Check out this site, to see if it is this model and with these serial number possibilities.
TractorData.com John Deere 320 tractor information
According to jdparts, some 320 models have fuel injection, and the pumps are different.
Follow the fuel line from the tank to the engine to decipher if there is a fuel pump with a wire connector to it (fuel injected engine) or if it is attached to the engine (mechanical pump- no wire).
Pulling the fuel line off at the carburetor and turning on the key should give a flow of fuel if it is the electric pump. Will have to crank on the engine to see if the mechanical pump will produce some fuel at the carb.
Should be able to remove the screw bolt at the bottom of the carb bowl to drain the carb of fuel too.
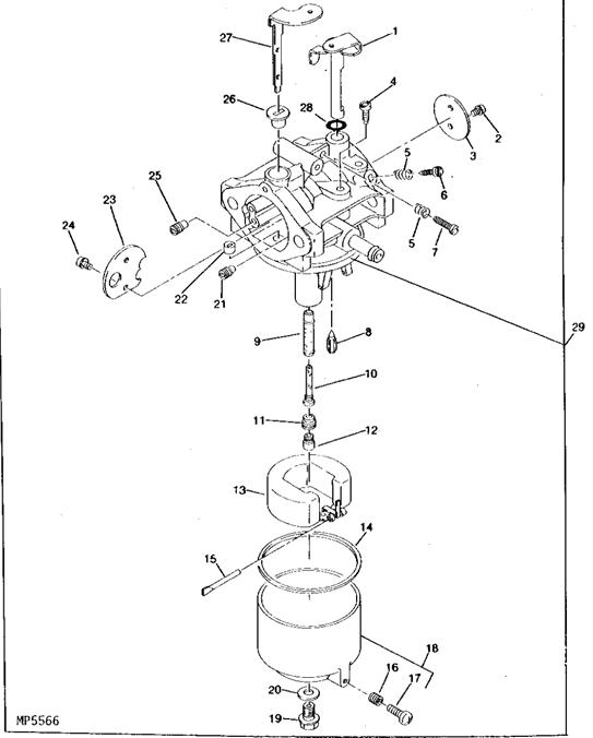
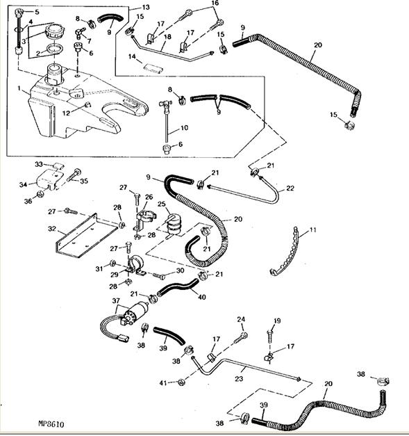
Here is carb showing parts. Also showing the mechanical fuel pump (# 9) on the front of the engine block, and also showing the fuel lines from the tank to the engine with the electric fuel pump (#37)
Check out this site, to see if it is this model and with these serial number possibilities.
TractorData.com John Deere 320 tractor information
According to jdparts, some 320 models have fuel injection, and the pumps are different.
Follow the fuel line from the tank to the engine to decipher if there is a fuel pump with a wire connector to it (fuel injected engine) or if it is attached to the engine (mechanical pump- no wire).
Pulling the fuel line off at the carburetor and turning on the key should give a flow of fuel if it is the electric pump. Will have to crank on the engine to see if the mechanical pump will produce some fuel at the carb.
Should be able to remove the screw bolt at the bottom of the carb bowl to drain the carb of fuel too.
Here is carb showing parts. Also showing the mechanical fuel pump (# 9) on the front of the engine block, and also showing the fuel lines from the tank to the engine with the electric fuel pump (#37)