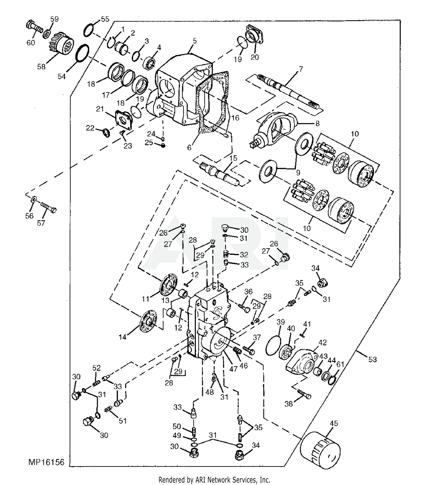
It is the hydro output gear. The bolt broke and the gear (inside the transaxle) was loose. While the bolt was broken the output gear still slightly meshed with the gear inside the transaxle, so it would still drive, but due to the angle of the gears it would slip off and not go into reverse. I replaced the bolt and removed the broken bolt and washer from the transaxle, so it should be good to go now.
I am not sure why I am not getting any power to the transaxle. It acts like the hydro isn't pressurizing the output shaft. I didn't take the hydro apart when I removed it though, so I am not sure why it would randomly stop working. Oil levels are good. I followed the bleed procedure so I don't think I have an airlock, but I guess its still possible. All other hydraulic functions are working fine.
I guess the Hydro output may be spinning and not engaging the gear in the transaxle, but that seems pretty unlikely, there wasn't any change there and no way to adjust the gear mesh.
The transaxle may be stuck in neutral, but again, I didn't change anything in there either so it seems unlikely.
My best guess is the hydro output shaft is no longer spinning, but I don't know what would cause this. The swashplate is moving back and forth freely, so the top rocker pump in the hydro should be pressurizing the fixed plate pump, but I'm just not sure.
For more clarity on the original broken part: Bolt #60 broke. Bolt head and washer 59 were fished out of transaxle. It has been replaced and the hydro has been reinstalled.
		
		
	
	
		 
	
	
		
			
		
		
	
				
			I am not sure why I am not getting any power to the transaxle. It acts like the hydro isn't pressurizing the output shaft. I didn't take the hydro apart when I removed it though, so I am not sure why it would randomly stop working. Oil levels are good. I followed the bleed procedure so I don't think I have an airlock, but I guess its still possible. All other hydraulic functions are working fine.
I guess the Hydro output may be spinning and not engaging the gear in the transaxle, but that seems pretty unlikely, there wasn't any change there and no way to adjust the gear mesh.
The transaxle may be stuck in neutral, but again, I didn't change anything in there either so it seems unlikely.
My best guess is the hydro output shaft is no longer spinning, but I don't know what would cause this. The swashplate is moving back and forth freely, so the top rocker pump in the hydro should be pressurizing the fixed plate pump, but I'm just not sure.
For more clarity on the original broken part: Bolt #60 broke. Bolt head and washer 59 were fished out of transaxle. It has been replaced and the hydro has been reinstalled.
 
 
		 
 
		