John deere ROPS

/ John deere ROPS #1  

emgmetz

New member
Joined
Apr 15, 2020
Messages
2
Tractor
1987 John Deere 750
Hi to all.
I just joined and am after information and possibly the right part.
I just got a 1987 John Deere 750 with loader and factory ROPS. There are two threaded bolt holes, one on each side which I believe the are meant to fasten a seat belt. My problem is I don't know the bolt size an thread. I have gone through my surplus parts and bolts and have not found any bplt that will thread into the holes,
Does any one happen to know what I need to fasten my seat belt.

Thanks,
Gordon
 
/ John deere ROPS #2  
/ John deere ROPS
  • Thread Starter
#3  
Hi to all.
I just joined and am after information and possibly the right part.
I just got a 1987 John Deere 750 with loader and factory ROPS. There are two threaded bolt holes, one on each side which I believe the are meant to fasten a seat belt. My problem is I don't know the bolt size an thread. I have gone through my surplus parts and bolts and have not found any bplt that will thread into the holes,
Does any one happen to know what I need to fasten my seat belt.

Thanks,
Gordon

Thanks Dusty. I haven't tried a fine thread yet. My book said everything on the tractor was metric. Hope this works.
Gordon
 
/ John deere ROPS #4  
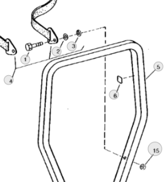
Thread type is immaterial because 7/16 bolt in parts photo utilizes a nut. So as long as bolt & nut are same type thread you should be good to go.
 

Attachments

  • Annotation 2020-04-18 103201.png
    Annotation 2020-04-18 103201.png
    40.9 KB · Views: 84
 
Top