Tractor backhoe - homemade

   / Tractor backhoe - homemade #1,541  
I am.. blown away that i come back to TBN for the first time in weeks and immediately see these two implements. Wow. Feels like a sign to get back to work on my little journey as a currently half-ass home fabricator. I’ll never get to this level, but im envious enough of the amount of pride that can be taken in building things of that caliber, that I’ll settle for just getting a little better and taking baby steps.

Those are the most impressive attachments of those type that ive seen in a long time. Thanks for sharing the pics and thought processes. šŸ‘šŸ‘šŸ‘
 
   / Tractor backhoe - homemade #1,542  
Beams are actually tubes 200x100x8 mm. No, wheels are spaced this way so they always remain on firm and even ground directly behind the center of the blade. This way we get the best support and avoid jumping and running on to larger stones, debris etc. When you offset the main beam and angle the blade without parallel guidance system wheels would end up on the grass beside the road.
If you put it up for sale, you would never get payd for the hours designing it, perhaps just break even for the materials bought at retail prices. Thats why i let others (our salesmen at work) take care of selling my design time, and at home i work with just a sketch and use whatever scrap steel is available...

I bought a heavy duty flail mower 8 years ago, the seller had it mounted on a 12 ton wheeled excavator but it pulled it towards the ditch when offsetted over the fence so he took off the hydraulic motor and sold it. I still want to make a hydraulic offset and tilt rig for it and put an angle gearbox of an old drum mower on it, but i never have enough time...

For some reason you have a huge amount of time, energy (and money) to invest in your hobby projects, i have no idea how you manage to have a life, besides your professional life as an electrical engineer and your night life as a mechanical engineer and fabricator... I mean i have a pretty good clue about the time a design like this takes... Do you ever sleep, or are you like Bill Clinton and does 3 to 4 hours of sleep a night suffice for you ? šŸ˜…
 
   / Tractor backhoe - homemade
  • Thread Starter
#1,543  
Well, since very many people got very interested in my work (that happened after I showed my Rk 525 backhoe), 4 years ago I started a little one-man (and wife) company so I'm building custom made machines for my customers. There is no way I could build these new ones just to keep them for myself. These machines have to work every day to pay off the costs, but they are very efficient so this concept works. The key is they are custom made, almost no large company is willing to do that for a customer, at least not in this kind of detail because it takes alot of work, design and time. Most of them make serial production and are not interested in costumization so that's where I step in.
Also, it's build to last, intentionally a bit stronger then it has to be, I put quality materials in every part, use Hardox, Strenx and other high quality steel so you get reliabillity out of it...
 
   / Tractor backhoe - homemade #1,544  
Glad you found a way to use your exceptional skills, creativity, and work ethic to make a living. Remarkable craftsmanship and attention to detail. Awe-inspiring in all aspects. Thanks for sharing.
 
   / Tractor backhoe - homemade #1,545  
Well, since very many people got very interested in my work (that happened after I showed my Rk 525 backhoe), 4 years ago I started a little one-man (and wife) company so I'm building custom made machines for my customers. There is no way I could build these new ones just to keep them for myself.
That makes sense. Some people are willing to pay the price if they have a say in the design, especially when you have some other builds that show your style of work, as a reference.
 
   / Tractor backhoe - homemade #1,546  
I appreciate engineers that can do the things you do. Some got it, some don't. I don't. I can machine and fabricate, but not a good designer.
 
   / Tractor backhoe - homemade #1,548  
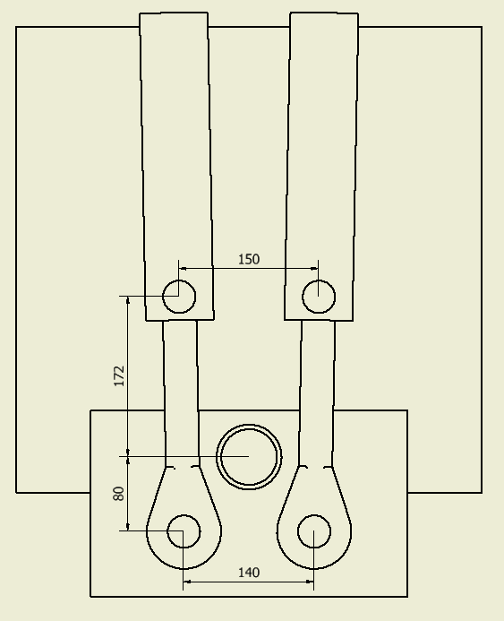
Hi, I really like your project. I came here because I'm looking for a rotation solution for my excavator. I have a serial, old excavator where the rotation is on a toothed rack. I know you mentioned that you spent a lot of time coming up with this rotation mechanism, but is there a chance you could provide the specific distances between these axes? For now, I've come up with something like below, but it seems to me that it still lacks a bit of an ideal solution.
 

Attachments

  • 4P1.PNG
    4P1.PNG
    17.6 KB · Views: 152
   / Tractor backhoe - homemade #1,549  
For now, I've come up with something like below, but it seems to me that it still lacks a bit of an ideal solution.
It will never be ideal, at max stroke the cylinders will always counterpush, but since they are almost dead on the boom swing hinge it doesnt really matter.
 
   / Tractor backhoe - homemade #1,550  
I managed to activate my two-actuator rotation system, but the actuators don't stop in place; they move back and forth slightly ("float") when I try to keep the arm in position. Do you use any special valve between the hydraulic manifold and the actuator to address this issue?
 

Tractor & Equipment Auctions

2019 KUBOTA U35-4 EXCAVATOR (A52706)
2019 KUBOTA U35-4...
JOHN DEERE ZERO TURN LAWN MOWER (A54756)
JOHN DEERE ZERO...
LOT: (200 approx.) Gallons of Chevron Delo TorqForce SAE 10W Hydraulic Oil (A59076)
LOT: (200 approx.)...
2022 Caterpillar 300.9D Mini Excavator (A55973)
2022 Caterpillar...
2017 Chevrolet Tahoe SUV (A56859)
2017 Chevrolet...
(INOPERABLE) GEHL 8K TELEHANDLER (A58214)
(INOPERABLE) GEHL...
 
Top