1920 Fuse location?

/ 1920 Fuse location? #1  

2dawoodz

Bronze Member
Joined
Sep 14, 2009
Messages
70
New to tractors. Replaced the battery. No power to instrument panel. Where are fuses located?
 
/ 1920 Fuse location? #2  
check yer manual. I had a 1920 10ys ago.. but can't remember where the fuse panel was. follow the wire coming off battery hot.. one will go to start solenoid.. from there there is usually a smaller wire.. perhaps 10 or 8 ga that runs to the power distribution center. on that small tractor it should not be to hard to follow it up. the dash and cowl area just ain't that big. prime locations would be lower r or l side o f the dash cowling.

soundguy
 
/ 1920 Fuse location? #3  
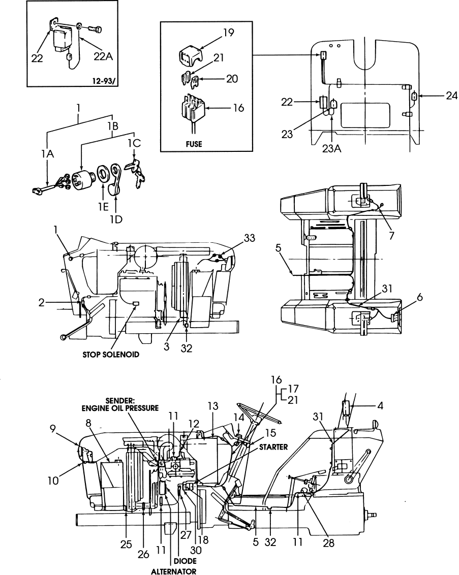
here is your electrical diagram

the inset pic int he middle at the top is the end of the wire harnes with intergral fuse block

#16, etc...

soundguy
 

Attachments

  • 1920fuse.gif
    1920fuse.gif
    77.3 KB · Views: 14,887
/ 1920 Fuse location?
  • Thread Starter
#4  
Thanks Soundguy. The owner does not have a manual. I checked the 3 fuses in #16 diagram. All look good. Now for the bad news. I believe I connected the battery wrong. I thought the red cable was positive and black was negative. However, the red cable is connected to the frame and the black cable is connnected to the starter. Hopefully there are other fuses that I have cooked and not something more serious/expensive. Again, thanks for your advice and assistance.
 
/ 1920 Fuse location? #5  
if the battery was hooked up wrong.. I'd have the alternator tested.. they don't last but about a second before the silicone parts die..

soundguy
 
/ 1920 Fuse location? #6  
And address the problem with the color coding. The red definetly should be the positive.. Sounds like someone changed it around
 
/ 1920 Fuse location? #7  
New to tractors. Replaced the battery. No power to instrument panel. Where are fuses located?

There is a fusible link attached to the starter solenoid on the terminal with the battery cable. It is a 3" red wire with an 8MM eyelet on one end and a white plastic connector body on the other. If it is open, you will have no power to any accessory or control circuits, including the instrument panel.

All other comments about alternators and battery cable color coding apply.
 
/ 1920 Fuse location?
  • Thread Starter
#8  
Is checking the fusible link something that can be done by just a visual or will I need some type of meter or testing tool?
 
Last edited:
/ 1920 Fuse location? #9  
Please don't take this personally. After reading your posts; I would have a qualified mechanic look at the situation. Reversed battery hookup and if you need any type of equipment to test a fuse link tends to lead me to having a qualified person look at this.
 
/ 1920 Fuse location?
  • Thread Starter
#10  
I admit I feel pretty stupid connecting the battery wrong even though the the cables colors are incorrrect. I was hoping to learn enough to correctly diagnose whether the fusible link was the problem and admit I am not familiar with testing electrical problems other than using a a simple test light or checking fuses visually. I'll keep researching and if I don't get anywhere I'll start looking for a mechanic.
 
/ 1920 Fuse location? #11  
some fuseable links actually burn open and break in two.. many only open internally, so you will need mor ethan a visual inspection. IE.. use a meter or test lamp to make sure there is power ont he other side of it not hooked to the solenoid. or remove it and use an ohm meter to test for continuity.

soundguy
 
/ 1920 Fuse location? #12  
Please don't take this personally. After reading your posts; I would have a qualified mechanic look at the situation. Reversed battery hookup and if you need any type of equipment to test a fuse link tends to lead me to having a qualified person look at this.

Everyone has to start somewhere. You must have a short memory.

I must be stupid, I routinely use a test light or VOM to test fuses and fusible links.
 
/ 1920 Fuse location?
  • Thread Starter
#13  
Follow-up. It was the fusible link at the starter. Replaced it and running like a champ. Thanks to all for your help.
 
 
Top