Columbian 204 1/2

/ Columbian 204 1/2 #1  

joeu235

Platinum Member
Joined
Mar 27, 2014
Messages
724
Location
Little River, TX
Tractor
John Deere 4020 / 6403 / 317 Ford 5600
Is this Columbian vise worth repairing? I assume it is. And if so, anyone know what would cause it to move inwards but not outwards with the handle?

20170111_125611-2656x1494.jpg20170111_125606-2656x1494.jpg
 
/ Columbian 204 1/2 #2  
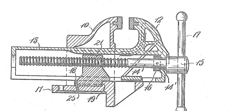
I suspect it is a loose part similar to #16 in the diagram.

Bruce

vise.jpg
 
/ Columbian 204 1/2 #4  
A lot of similar vises have a small pin that shears easily, the pin opens the vise.

The pin is easily replaced.
 
/ Columbian 204 1/2 #5  
The answer probably depends on what you plan to do with it, and how much it would cost you to get it (if you don't already have it).

That vise has seen some pretty serious abuse. The slide has been shortened, probably because it cracked. People use the back of the slide as an anvil, and they crack, so they cut the broken part off. In this case, when they cut it, it wasn't a clean cut and it flared the ends out, so you won't even be able to get the slide out of the body without grinding it even.

It's missing the pipe jaws and the normal jaws are nearly welded in place with spatter. The jaws appear to be worn nearly smooth, and nobody that I know of offers the T-shape style of Columbian jaws as a replacement.

I can usually find that size/style Columbian in good shape for around $100 which super clean examples being a bit more, but still under $200.
 
/ Columbian 204 1/2
  • Thread Starter
#6  
The vice has been on our family farm since probably the 1950's or earlier. I'm going to restore to good working condition and keep using it. There is an anvil, blacksmith vise, and forge I plan on restoring also. Thanks for the help and input.
 
 
Top