John Deere 2040 with Open Center valve on FEL

   / John Deere 2040 with Open Center valve on FEL #61  
I am guessing you found a CC plug for his valve.
521 parts shows a fitting that fits in the side of FEL control valve that resembles a CC conversion plug BUT I can't locate that plug in Jimmy's photos.
 
   / John Deere 2040 with Open Center valve on FEL #62  
While I’m draining the fluid, I’ll pull the lines from the valve to try to get more info on it.

I did get the rear remotes back - for now, I’ll just clean them up and store them in the barn. This is how I got them...
While draining fluid, take the line from the loader valve to the rockshaft cover (return line for loader valve) and your filter cover to hydraulics shop. Tell them you want fitting(s) to connect that hose end to the port on the filter cover.

Also get a "T" for the PCV and a cap (for until you install the rear SCV (remote)

For the rear remote that was returned; did you get line key 6 too? That connects the remote to the PCV. They would have taken it off too. It's a $70 part. First drawing, key 3 second drawing. T goes between key 3 &4. Cap the end until you reinstall the rear remote.

I'd estimate the rear remote with quick coupler is worth $500+
2040scvoilline.JPG
2040PCV.JPG
 
   / John Deere 2040 with Open Center valve on FEL #63  
521 parts shows a fitting that fits in the side of FEL control valve that resembles a CC conversion plug BUT I can't locate that plug in Jimmy's photos.
With the valve in the mounting box, and the return hose going over the top, it's hard to tell if that port is there. I suspect, they plugged it.
Did you find a CC plug? P/N?
If you did KUDOS! a CC plug would solve his problem.
Then he needs to get the water flushed out and hope the brake linings survived.
 
   / John Deere 2040 with Open Center valve on FEL #64  
I located a plug(AW17949) but I think its not a CC valve conversion adapter.
 

Attachments

  • Screenshot 2022-03-16 100108.png
    Screenshot 2022-03-16 100108.png
    72.8 KB · Views: 93
   / John Deere 2040 with Open Center valve on FEL #65  
I located a plug(AW17949) but I think its not a CC valve conversion adapter.
I do not think it's CC conversion plug either. I'll bet his valve has it and they plugged it, since CC does not have a place for it's connecting hose. So having a hose, it can't be a CC conversion plug.

If we knew the valve maker, a CC conversion plug might be found.

I would pull the valve and try to determine who made it.
 

Attachments

  • aw17949.JPG
    aw17949.JPG
    606.3 KB · Views: 103
   / John Deere 2040 with Open Center valve on FEL #66  
I suggest to perform my simple test before disconnecting hoses or removing valve
 
   / John Deere 2040 with Open Center valve on FEL
  • Thread Starter
#67  
Well, I finally managed to perform the test - and shot milky white hydraulic fluid everywhere. Good news is now we know for sure...
I also took a closer look at that valve and think I see the plug/port that Tx Jim actually referenced.

I’ll get a fluid change and start planning for re-routing these lines as described above before I fill it back up...

Gonna add a few pictures of the valve for reference - maybe you recognize one of the numbers?
 

Attachments

  • E0573BF5-5805-4005-97CB-82E3400ED098.jpeg
    E0573BF5-5805-4005-97CB-82E3400ED098.jpeg
    3.1 MB · Views: 109
  • 06E9DE18-EC65-450E-A56A-4ED980364218.jpeg
    06E9DE18-EC65-450E-A56A-4ED980364218.jpeg
    1.9 MB · Views: 107
  • 1827796B-2D79-4093-B129-E3C644FC38E8.jpeg
    1827796B-2D79-4093-B129-E3C644FC38E8.jpeg
    2.5 MB · Views: 108
  • 518C42FB-83AE-4689-9E67-C46E85F4D5F0.jpeg
    518C42FB-83AE-4689-9E67-C46E85F4D5F0.jpeg
    2.4 MB · Views: 98
  • A12691BE-BF8E-4FB1-8642-9B20A8C0BEE6.jpeg
    A12691BE-BF8E-4FB1-8642-9B20A8C0BEE6.jpeg
    2.6 MB · Views: 111
  • C962702A-CB5A-4B06-961B-A0B8927A1D6F.jpeg
    C962702A-CB5A-4B06-961B-A0B8927A1D6F.jpeg
    2.3 MB · Views: 114
   / John Deere 2040 with Open Center valve on FEL #68  
Jimmy
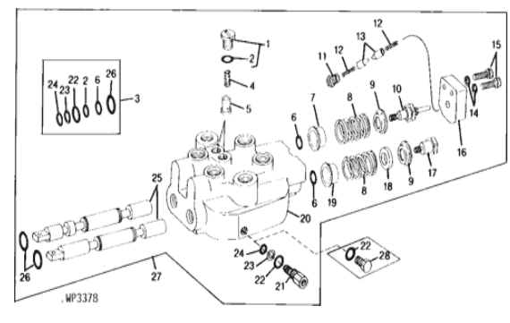
You have made some great progress on diagnosing your tractor's hydraulic problems. I don't have any experience with that particular hyd control valve but I wish you would remove the cap in photo & post photo of it's threaded area. Have you checked control valve body for any numbers that might ID it? Parts schematics I can locate shows plug on your FEL control valve not to be a closed center conversion plug with inner seal(item 19) similar to 2nd photo. W25405(4th photo) may be the correct part # for the CC conversion plug. I also recommend removing check valve in 3rd photo that was in place when valve was utilized for open center hyd systems(3rd photo)
 

Attachments

  • Screenshot 2022-03-17 102410.png
    Screenshot 2022-03-17 102410.png
    192.6 KB · Views: 90
  • Screenshot 2022-03-17 103514.png
    Screenshot 2022-03-17 103514.png
    6.1 KB · Views: 97
  • Screenshot 2022-03-16 045314.png
    Screenshot 2022-03-16 045314.png
    327.9 KB · Views: 91
  • Screenshot 2022-03-17 105923.png
    Screenshot 2022-03-17 105923.png
    148 KB · Views: 91
Last edited:
   / John Deere 2040 with Open Center valve on FEL #69  
I am thinking it's Cessna valve. Maybe W25405 is CC conversion plug?
P/N AW20889 is the CC non-convertible valve.
Cessna AW20889.JPG
 
   / John Deere 2040 with Open Center valve on FEL
  • Thread Starter
#70  
Please see picture of back of the valve as well as the plug.

note that there is also a plug on top of the valve. Not sure what that is but I have shown it in the last picture.
 

Attachments

  • image.jpg
    image.jpg
    2.7 MB · Views: 95
  • 78A85335-5320-499A-8E04-6D3E158DF130.jpeg
    78A85335-5320-499A-8E04-6D3E158DF130.jpeg
    2.5 MB · Views: 97
  • 0809F329-8771-456B-8618-5DD03CAC32AC.jpeg
    0809F329-8771-456B-8618-5DD03CAC32AC.jpeg
    2.8 MB · Views: 95
  • 2E0F1F7A-0CBD-406E-83FF-564D7301A435.jpeg
    2E0F1F7A-0CBD-406E-83FF-564D7301A435.jpeg
    3.3 MB · Views: 104
  • 246D747F-0196-47A9-974A-6A6BDA261241.jpeg
    246D747F-0196-47A9-974A-6A6BDA261241.jpeg
    2.8 MB · Views: 112
  • image.jpg
    image.jpg
    2.6 MB · Views: 98

Tractor & Equipment Auctions

2012 Ford F-350XL (A53314)
2012 Ford F-350XL...
2008 CASE 721E Wheel Loader (A47477)
2008 CASE 721E...
Giyi Root Grapple (A53316)
Giyi Root Grapple...
2009 Honda Odyssey Van (A55758)
2009 Honda Odyssey...
Snow Plow Bracket (A47477)
Snow Plow Bracket...
2013 Chevrolet Malibu Sedan (A51694)
2013 Chevrolet...
 
Top