Power Beyond 955 - adding rear remotes

/ Power Beyond 955 - adding rear remotes #1  

buildinit

Member
Joined
Nov 10, 2015
Messages
33
Location
Rusk, Wi
Tractor
John Deere 955
Well, this will be my attempt to install rear remotes on my John Deere 955. I need help with everything. I don't know how to find the instruction manual, parts list, or valve options. I think I need:

1. Instruction manual for installation
2. Parts list that will work
3. Control valve. My dream is to have one operable on my FEL control stick.

Does anyone have a source for information on how to install the kit?
 
/ Power Beyond 955 - adding rear remotes #2  
The best place to look is your local John Deere dealer. I got the installation manual from the dealers service department. Look on John Deere parts, there should be a parts breakdown of whats required.
 
/ Power Beyond 955 - adding rear remotes #3  
If you're looking for what John Deere offered as a dealer option, JD Parts will yield the individual parts needed to assemble.

If what you want is not a dealer option, you have more work to do. I'm interested to know basically the same thing in that I want valved remotes on my 855. I already have a factory Power Beyond kit installed.
 
/ Power Beyond 955 - adding rear remotes #4  
with power beyond it is really easy. Use the power beyond to to supply your new valves. Brian at FITRITE will set you right up. Or purchase your own valves and install them.
 
/ Power Beyond 955 - adding rear remotes
  • Thread Starter
#5  
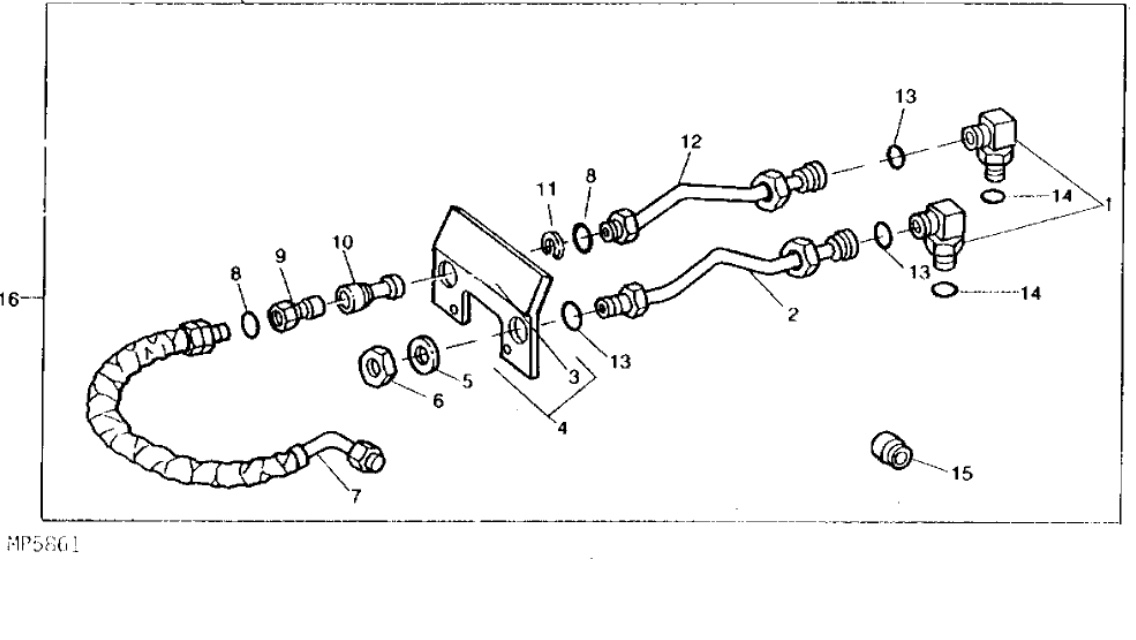
Does anyone know if this is the kit?

IMG_3865.JPG
 
/ Power Beyond 955 - adding rear remotes
  • Thread Starter
#8  
That image you show is only hoses.
The actual power beyond is in,,, or part of a valve.

Different valves produce "power beyond" oil flow in different ways.

All of the valve discussion is seperate from the image you show.

Ok, that makes sense. So, could I install these lines and is that the plug also, then hook up a valve....
 
/ Power Beyond 955 - adding rear remotes #9  
I'm sorry I couldn't get into the account, YES That is the entire Power Beyond Kit !
 
/ Power Beyond 955 - adding rear remotes #10  
The two 90's go into the transaxle , # 15 goes into the side of the Transaxle
 
/ Power Beyond 955 - adding rear remotes #11  
IMG_0002.JPG
 
/ Power Beyond 955 - adding rear remotes #12  
IMG_0018.JPG
 
/ Power Beyond 955 - adding rear remotes #13  
It's pretty simple
 
/ Power Beyond 955 - adding rear remotes #14  
Pulling the fenders makes it an easy job
 
/ Power Beyond 955 - adding rear remotes #15  
Kevin
Sure wish those pics posted were clear and in focus. Any chance ?? Prolly all put back together now.
 
/ Power Beyond 955 - adding rear remotes #16  
They are perfectly clear on my end .....
 
/ Power Beyond 955 - adding rear remotes #17  
I posted the whole thread of this job , I'm sure it's still here somewhere
 
/ Power Beyond 955 - adding rear remotes #18  
Thanks Kevin.. I think they are clear enough.. :thumbsup:
 
/ Power Beyond 955 - adding rear remotes
  • Thread Starter
#19  
Ok. I got the parts list and prices from JD. Now, let's say I want the capability to hook up a three separate cylinders (grapple, and top n tilt!?!?) . What type of control valve setup do I need?

I'm sorry, I have no idea how to hook this up to control an implement at this point. I just know now how to get the energy source back there.
 
/ Power Beyond 955 - adding rear remotes #20  
You would need a Open Center 3 spool valve
 

Marketplace Items

2003 Toyota Sequoia SUV (A66738)
2003 Toyota...
Tropic Trailer 18ft T/A Flatbed Equipment Trailer (A64553)
Tropic Trailer...
SOUTHERN FRAC MANIFOLD (A68842)
SOUTHERN FRAC...
2020 TAKEUCHI TL8R2 SKID STEER (A65056)
2020 TAKEUCHI...
LINCOLN ARC WELDER (A67714)
LINCOLN ARC WELDER...
2014 KOMATSU D65PX-17 CRAWLER DOZER (A65056)
2014 KOMATSU...
 
Top