Rear Blade Hydraulic

/ Rear Blade Hydraulic #1  

EchoEric

New member
Joined
Jan 31, 2026
Messages
5
Tractor
Massey 1526
Question for anyone with a Land pride RB26 series rear blade.

I recently acquired a used 7’ farm star ub750T back blade. Works great but I want to add some hydraulics to it. While there are plenty of write ups on custom fabrication of brackets… I can’t help to notice this blade is built similar to the land pride models that have bolt on hydraulic kits. If their sizes work out, I’m hoping could use that with little modification and drilling. This would be epically nice for now in the winter.

Questions… for parts

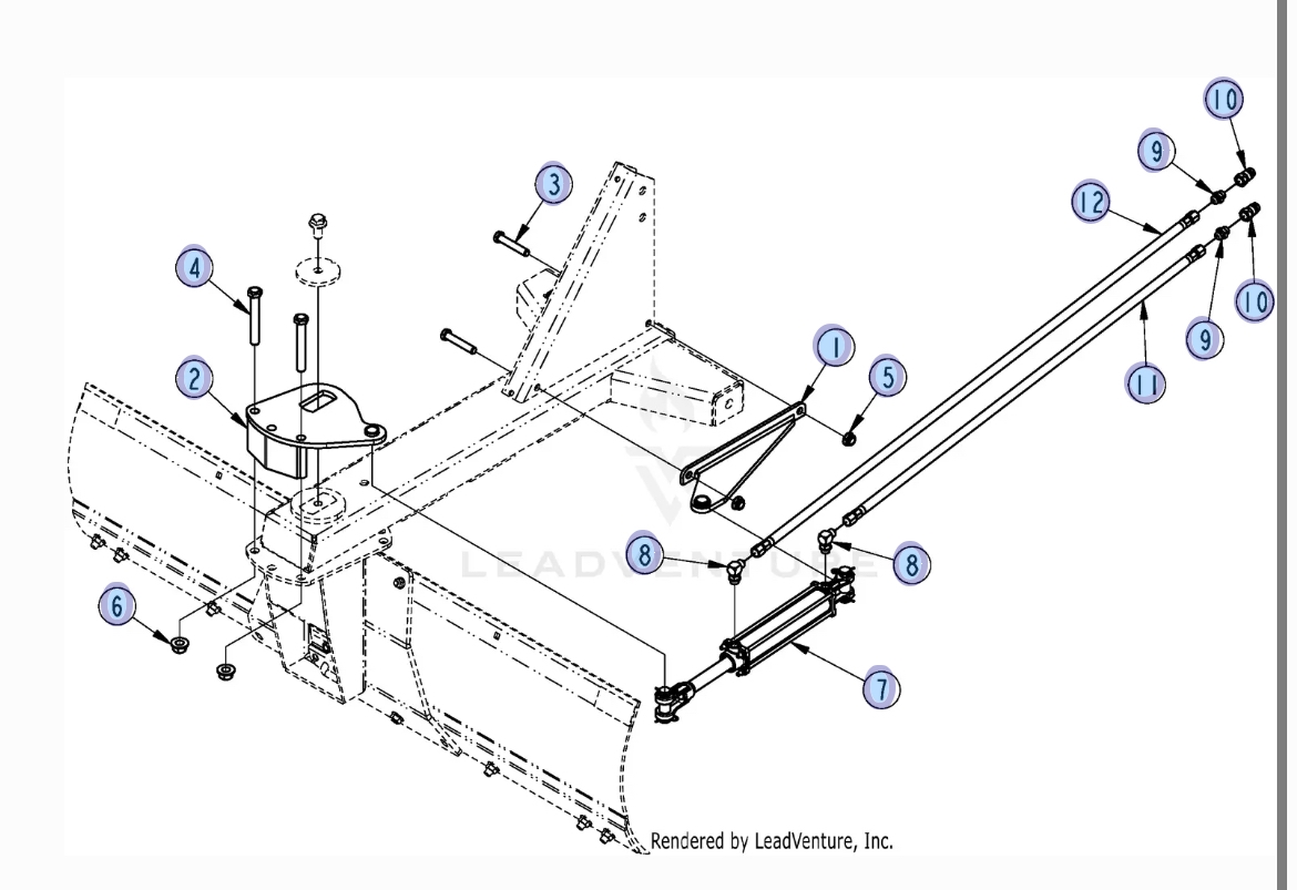
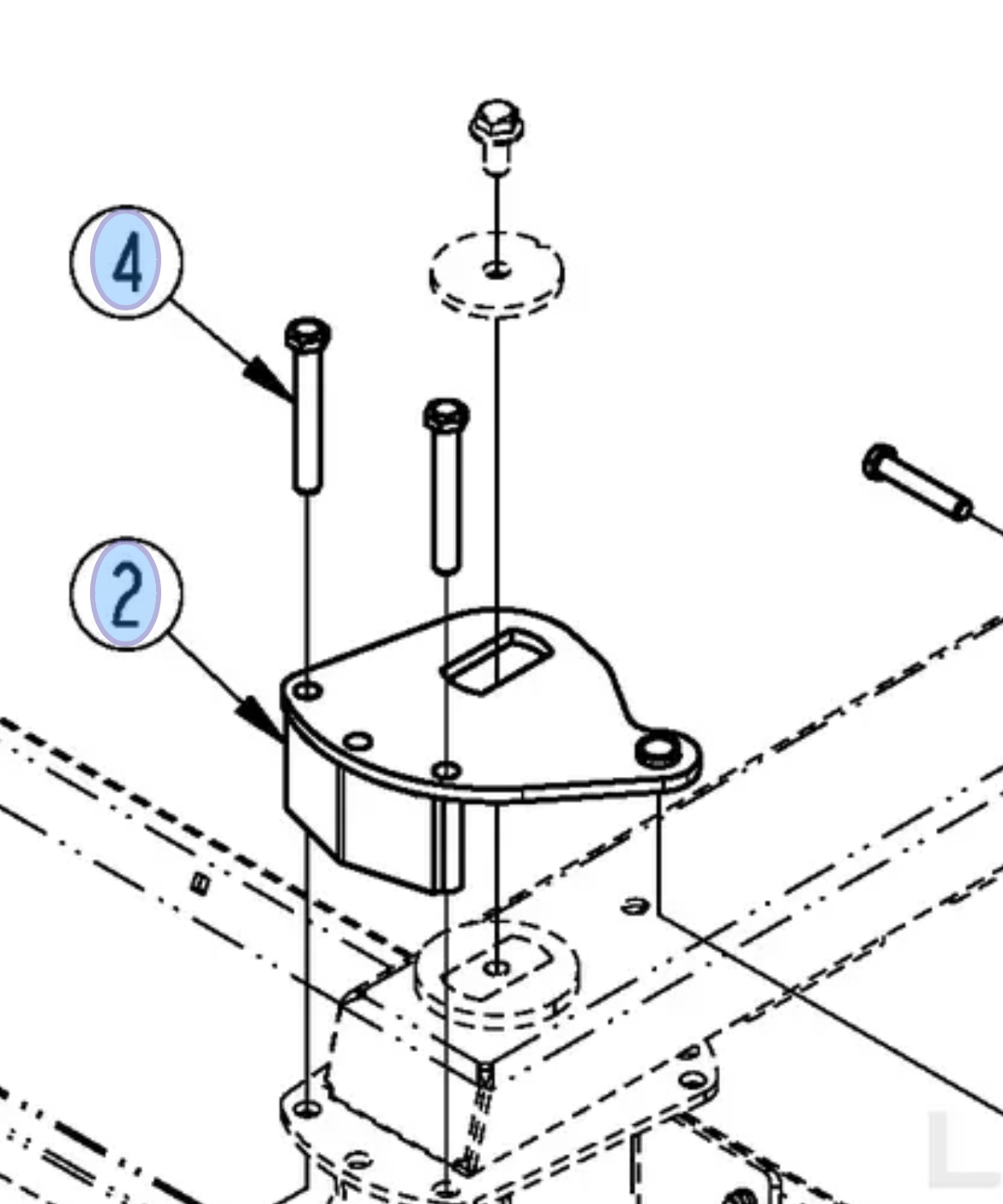
Part# 301-403H, WLDMNT, RB26 FRN, what is the total length, hole to hole spacing, stick out of the hydraulic pin, and placement from front bolt?

Part# 301-523H Land Pride RB16/26 HYD ANG, what is the approximate hydraulic pin distance from center, and the 3 hole bolt circle and spacing between?
I’m thinking I could just mount this upside down. It may need a counter bore recessed in the center, or just some spacers.



 

Attachments

  • IMG_7130.jpeg
    IMG_7130.jpeg
    692.1 KB · Views: 124
  • IMG_7136.jpeg
    IMG_7136.jpeg
    251.8 KB · Views: 109
/ Rear Blade Hydraulic #2  
If you markup the measurements you need I can measure my RB2684. I'm not clear on the measurements that you're asking for.
Also, FYI there is a serial number split in the hydraulic angling bracket. I initially took delivery of the blade with the incorrect bracket, which profoundly affected operation. You would need to do the legwork on the serial number to determine which bracket I would be measuring.
 
/ Rear Blade Hydraulic
  • Thread Starter
#3  
If you markup the measurements you need I can measure my RB2684. I'm not clear on the measurements that you're asking for.
Also, FYI there is a serial number split in the hydraulic angling bracket. I initially took delivery of the blade with the incorrect bracket, which profoundly affected operation. You would need to do the legwork on the serial number to determine which bracket I would be measuring.
Awesome thank you.

Attach is a computer sketch of the dimensions I am looking for. I know the part shapes are off, but hopefully it’s clear what I am looking for.

It looks like between the two versions, a newer one has more of a slot key while an older version has more of a hexagon key if you let me know which style you have, that truly, please let me know which one to order if your dimensions work out pretty good for me.
 

Attachments

  • WLDMT2_1.png
    WLDMT2_1.png
    259.5 KB · Views: 91
  • IMG_7138.jpeg
    IMG_7138.jpeg
    286.2 KB · Views: 81
  • IMG_7139.jpeg
    IMG_7139.jpeg
    275.1 KB · Views: 91
/ Rear Blade Hydraulic
  • Thread Starter
#5  
Thank you for sharing. This was very
Thank you for sharing, this was very helpful. I think this kit may work for my blade. I may need to use a slightly longer cylinder, but better than having to fab something from scratch.
 
/ Rear Blade Hydraulic #6  
So about $800 for a hydraulic cylinder, 2 weldmends and 2 hoses?
Can you weld?
The cylinder size you need is in the description and I'm sure surpluscenter.com has one cheaper along with cheaper hoses.

Looking at some quick visuals on that rear blade I can see where you could just bolt on a rear attachemt point made from some hardware store flat bar. The front mounting point where it would attach to thr frame may be a bit thougher.
 
/ Rear Blade Hydraulic #7  
I converted a Bush Hog --- not difficult if you have rear remotes with a valve in place. You can turn the blade around and still use the cylinder. It tilts only to the left.
 

Attachments

  • Rear Blade.jpg
    Rear Blade.jpg
    3.7 MB · Views: 60
 
Top