2750 Brake Issue...Need Help!!

/ 2750 Brake Issue...Need Help!! #1  

BuckeyeFarmer1994

New member
Joined
Sep 4, 2009
Messages
20
Location
Southern Ohio
Tractor
1984 John Deere 2750, 1976 JD 2240, 1951 Ford 8N, 1955 Ford 650
I have recently purchased a JD 2750 and having an issue with the left brake. At times you can depress the pedal all the way with no resistance or resulting braking at the left brake. Other times, particularly if you pump the pedal a few times, the pressure returns as normal. In the operators manual it provides instruction for bleeding to eliminate air in the system, but this does not act like any brake system I've ever encountered that simply needs bled. Is it possible that there is a valve malfunctioning somewhere? Any help will be appreciated!!
 
/ 2750 Brake Issue...Need Help!! #2  
It is probably the master cylinder going bad.
 
/ 2750 Brake Issue...Need Help!!
  • Thread Starter
#3  
If the master cylinder is going bad, can it be fixed by simply replacing the o-rings and seals? Do the pistons and master cylinder housing wear out? fyi-the tractor has 3,800 hours.
 
/ 2750 Brake Issue...Need Help!! #4  
Does this look like the master cylinder for the brakes??

John Deere - Parts Catalog

As for the worn pistons/other parts I think you would have to inspect the pieces in yours to see if they are free from scoring and pitts after it is disassembled.
 
/ 2750 Brake Issue...Need Help!! #5  
First try adjusting the stop screws on the pedals. Remove the right footrest for access. First shorten both stop screws until there is clearance between the bolt head and the pedal. Then back the screws out until they just touch the pedal. Then back the screws out two more flats.(1/3 turn). Now try apllying each brake. If one side settles to the floor, back out the opposite pedal screw one more flat. If this procedure does not help, then you either need brake valve rebuilt, or you have a leak in the piston in the axle housing.
 
/ 2750 Brake Issue...Need Help!!
  • Thread Starter
#6  
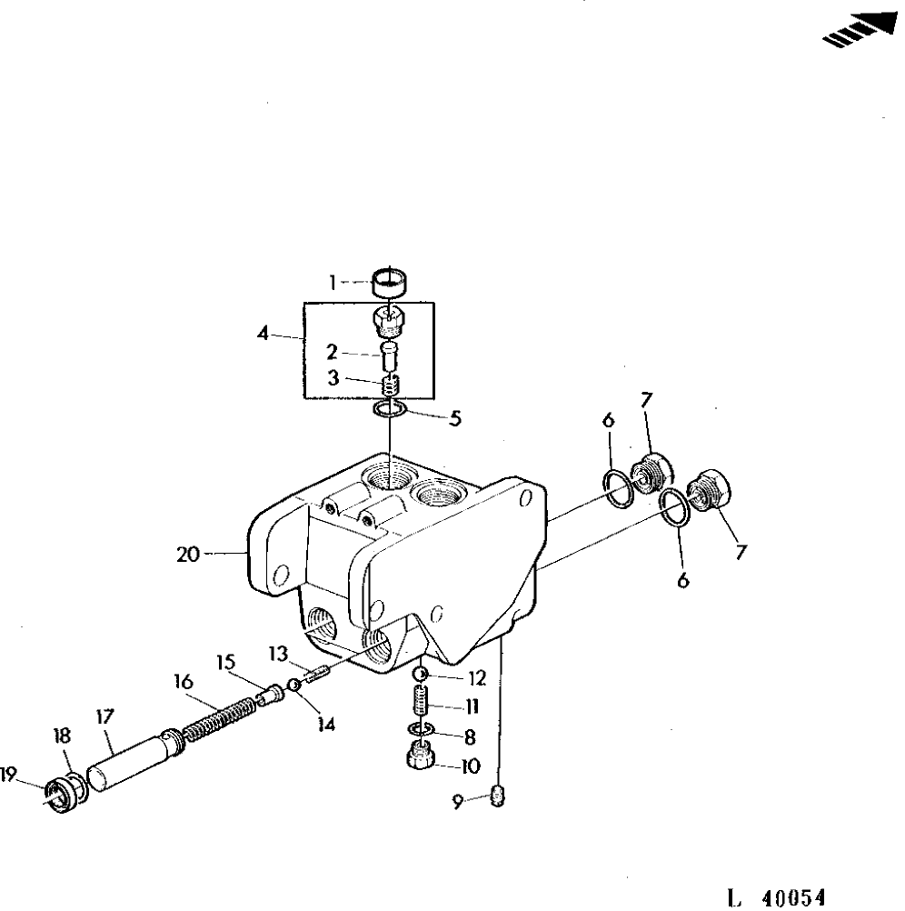
Thanks for the replies!! The master cylinder/brake valve is pictured below (I hope....have nbever posted a picture before). I suspect it may be component # 4 (JD part # AL69179 listed as described in the catalog as 'valve'). Is there an easy way to test the master cylinder output? I would certainly prefer to test the master cylinder prior to checking the piston within the axle housing. Thanks again for your help on this issue!
 

Attachments

  • L40054_________UN01JAN94.gif
    L40054_________UN01JAN94.gif
    15.6 KB · Views: 407
/ 2750 Brake Issue...Need Help!! #7  
The best way to test the valve is to disconnect the oil lines going to the axle and install a cap to seal it off. The pedal should be very hard and firm when doing this. If the pedal still goes down, the leak is in the valve.
 
 
Top