3225 Hydraulics Problem

/ 3225 Hydraulics Problem #1  
Joined
Feb 10, 2008
Messages
15
Tractor
2010 John Deere 2520
I have a Cub Cadet model 3225 that has about 425 hours on it. I bought it new about 8 years ago and have been quite pleased with it.

Today, I was using it with my snowblower attachment and lost hydraulic power. First the hydro lift failed to actuate, and then soon I lost
power steering and then forward/reverse ability. I checked the transmission fluid level and found it low, but adding to fill (~4 oz) did not restore
operation.

As I was thinking about this, I found a broken spring right under the tractor - it's measures about 3/8" x 1 1/2" and is the color of brass. Looking in the parts manual, I can't find a sring that seems to be part of the transmission or hydraulic systems that matches this part. I can't believe the spring is not related to the problem, but I can't see where it might have come from. Can somone help?
 
/ 3225 Hydraulics Problem
  • Thread Starter
#2  
Well, I figured out where the broken spring came from - it was between the front control rod shaft and the cam clutch (PN 732-3118 and rf no. 34 in the parts diagram). So now I think its failure may be unrelated to the hydraulic problem, but occurred when I pushed the forward and reverse pedals to test the hydrostatic drive. I'll get a replacement and then go through the air-bleed procedure I saw in another post on this forum. This was by cycling the F an R pedals with the tractor started and the free wheel mode lever pulled out.
 
/ 3225 Hydraulics Problem #3  
Sorry to hear about your tractor's issue...

I'm no expert, but I am interested. I've got a first cousin to your machine in my garage! I won't promise that these observations will help at all, but here goes...

If I read your account correctly, it's interesting that you lost lift, steering and transport in that order. I wondered, but don't know, if this is also the order of pressure requirements for the hydraulic system components

Your account also implies to me that this failure that took at least several minutes to manifest itself.

Could you verify both of these?

Is there a chance that this is something simple like a clogged filter? If the filter was clogged, then you might first loose high pressure. As the pressure builds up across the filter, you might loose more and more pressure. If it was really cold, that could make it worse.

Again no great experience here, but trying to help with an idea or two...

Let us know how it goes...

Steve MacLeod
near Rochester, NY
 
/ 3225 Hydraulics Problem
  • Thread Starter
#4  
Thanks for the reply - I'll respond after an update.

I was able to borrow the same spring part no. from the nearby cruise control linkage to restore the F/R linkage and cam clutch action. Then I disengaged the transmission, started her up, and cycled the F and R pedals for a couple of minutes. Stopped her, and saw no bubbles on the dipstick. Started up, with the transmission engaged and found no improvement in any hydraulic function. So I still need some help on this.

The lift was noticed first, as the blower was dragging as I backed up from making a pass. I then stopped it to check, added fluid, and when I restarted noticed I had no drive or power steering.

I could have a clogged filter, but there was no recent action that would cause it, like a filter or fluid change. On the advice of my dealer's service department, I have not changed the transmission fluid or filter - they said there was more risk of adding dirt than benefit to be gained, despite the fact that the owner's manual calls for a new filter at 100 hours and every 50 thereafter. It was not that cold when this happened - just about 35 degrees.
 
Last edited:
/ 3225 Hydraulics Problem #5  
I'm hopeful that someone else will chime in, but, in the meantime, were/are there any odd noises or an unusual lack of noise? I know that hydro problems involving fluid sometimes result in odd noises. How about when you try to actuate the lift? Usually there is a whine associated with that. Do you have anything?
 
/ 3225 Hydraulics Problem #6  
I'm afraid I disagree with the dealer. After 425 hours I would DEFINITELY change the filter. Are you using the synthetic drive fluid ($30+ per gal)? If you jack up the front of the tractor as high as possible and have the new filter ready to install you can do it without losing more than a pint of fluid. The filter is the simplest and cheapest option so I would definitely try that first. Make sure to use the correct filter.

Bob B.
 
/ 3225 Hydraulics Problem
  • Thread Starter
#7  
Thanks for the replies, guys.

I really hear no noises when trying to use any of the hydro functions - it sounds like there's no fluid being pumped.

So I will try the filter replace option tomorrow - I have the correct part and synthetic fluid on hand. I'll post the results afterward.
 
/ 3225 Hydraulics Problem #8  
Rich D in Saugerties said:
Thanks for the replies, guys.

I really hear no noises when trying to use any of the hydro functions - it sounds like there's no fluid being pumped.

So I will try the filter replace option tomorrow - I have the correct part and synthetic fluid on hand. I'll post the results afterward.

You might try part 60 in the attached picture. (assuming kit 759-3926 is installed) If you noticed there is no key (part 25) in the kit. The pump adapter is held on with friction and lock-tite. If it loosens up, the hydro input shaft does not turn and no hydro action at all. If you don't have the 759-3926 kit and have parts 25 and 28 installed, the shaft must be turning, so, you are looking at more serious problems.

Definitely try the filter and add proper compatible fluid. Drive system plus or compatible (search the forums for a lively:D discussion on compatible fluids).

:mad: DO NOT USE HYTRAN!!!!! :mad:

Also, make sure that the pump bypass lever is not pulled out at all.

If you still have no forward/reverse, power steering or lift then the hydro is not pumping for $ome rea$on. (That's not a typo. It starts to get expensive at this point.:eek: )
 

Attachments

  • rear.jpg
    rear.jpg
    66.6 KB · Views: 4,054
/ 3225 Hydraulics Problem
  • Thread Starter
#9  
Today I removed the snowblower, jacked the front up about 8", replaced the transmission filter, added fluid, and went through the bleed procedure by pumping the F/R pedals while the transmission was disengaged. Unfortunately, there is no change in the problem.

I was concerned that the hydro bypass spring plate might not be working right, so I removed it and used a wooden wedge to hold the button disengaged, and went through the bleeding again - after 40 pumps on each of the pedals, and removal of the wedge, I still have no hydraulics.

For others performing filter change, beware that the filter has a nipple that might come out with the filter and need to be transferred to the new filter. This cost me some lost oil, while I figured out I needed to plug the hole with some paper towels while I made the nipple transfer.

So I'm still scratching my head and looking for next step suggestions.
 
Last edited:
/ 3225 Hydraulics Problem #10  
Peavs, You obviously know what you're doing around these tractors.

I'll admit right up front that I'm not sure that I follow how to tell if the drive shaft is driving the pump, but as long as "Rich D" does, that's good.

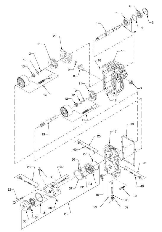
On a similar front, in the attached figure,
3225Hydro.gif

can the check, relief valves and/or plugs (#25-30) be used to figure out if there's anything going on inside the pump? I know it sounds dumb, but could someone undo one of these, disconnect the spark plugs and turn over the engine, then look and see if there's a puddle. I don't know what the fluid path is like, but is there a point that, if fluid doesn't come gushing out when the driveshaft is turned, it means that the pump is dead? If I know which way fluid flowed around the filter I might even think you could make a similar check there.

Yes, it's crazy - would it work?
 
/ 3225 Hydraulics Problem #11  
thunderbirl said:
On a similar front, in the attached figure, can the check, relief valves and/or plugs (#25-30) be used to figure out if there's anything going on inside the pump? I know it sounds dumb, but could someone undo one of these, disconnect the spark plugs and turn over the engine, then look and see if there's a puddle. I don't know what the fluid path is like, but is there a point that, if fluid doesn't come gushing out when the driveshaft is turned, it means that the pump is dead? If I know which way fluid flowed around the filter I might even think you could make a similar check there.

Yes, it's crazy - would it work?

I don't know either, but if it were mine, I would take the fenders off and have a look. My knowledge comes form "I been here and done this" on mine for a very similar problem. I just hope (for Rick D) the shaft is not turning and the pump adapter is slipping.
 
/ 3225 Hydraulics Problem #12  
I've never had the nipple come out with the filter. I don't think that's normal but I suppose it could happen.

Bob B.
 
/ 3225 Hydraulics Problem
  • Thread Starter
#13  
I should have mentioned in my prior post that my 3225 does not have the 759-3926 kit and the shaft and pump fan are definitly turning.
 
/ 3225 Hydraulics Problem
  • Thread Starter
#14  
I am wondering if my transmission bypass is functioning correctly.

Ever since purchasing the tractor 8 years ago, I found the tractor very difficult to move with the disengage lever actuated. I had a couple of prior
hydrostatic tractors that freewheeled easily when the transmission was bypassed. For this one, I really need my wife to help moving it.

If this was faulty, then the purge process would not be working correctly, and maybe the pump might be "chewing on air" instead of fluid. I know the bypass valve button is moving in as designed - this is why I removed the hydro spring plate and depressed the valve with a wedge.

Can I get a couple of posts on how easy the tractor should be to move when the transmission is bypassed?
 
/ 3225 Hydraulics Problem #15  
Your charge pump is broken. It is number 24 on the parts diagram. Replacing this unit requires a complete teardown of the hydro unit which can be removed from the differential, but the entire assy. should be removed from the tractor first. I bought my tractor with this unit broken and repaired the whole thing for $108 for parts(inc. filter) plus $30 for 6 quarts of oil(Mobil1 15w50). I heard rumblings that if you approach CC directly, there may be an unspoken extended warranty for this item- DO NOT ask the dealer- he will say NO(would you work for less than half the money given a choice?). This IS the problem with your tractor the longer you run it trying different fixes, the more havoc you wreak inside the hydro unit!!! fix it now before you run it any more.
Bruce
 
Last edited:
/ 3225 Hydraulics Problem
  • Thread Starter
#16  
The pump is cerainly a key suspect. The item #24 in the drawing posted by thuderbirl (post #10) is called the gerotor & housing assembly. It is part of a larger assembly kit #23 called the auxilliary charge pump kit. I got a price of $75 from Messicks Farm Equipment for part #24, and $193 for the assembly kit #23. Apparently, efiero50 got just the gerotor part and reused the O-rings, etc.

I also talked a bit to a service guy at Messicks, and he shared the opinion that the charge pump was a key suspect. The two pumps inside the transmission itself are used for drive function only, so my lack of lift and steering makes the charge pump the more likely culprit.

I think I'm gonna want a service manual to guide me through this repair. It seems like the only way to get one is to fax an order form - the web and
phone functions only allow operators and parts manuals to be ordered.
 
/ 3225 Hydraulics Problem #18  
Yea, I misspoke. It was the gearotor that I bought. Since I'm a cheap SOB, I reused the O-rings and they seemed to seal just fine(15 hours use since repair). After you get all the stuff off and out of the way, it's really a fairly simple repair. Take note you will find quite a bit of shrapnel in part number 31- it's used as a safety screen to keep the rest of the hydraulic motor clean. I think this is the only weak spot in the 3000 series, but it is significant. I have the feeling I'll be doing this again in a few years......
 
/ 3225 Hydraulics Problem
  • Thread Starter
#19  
Thanks for the advice and update elfiero and peaves! The Hydro-Gear parts from M&D Mower are the cheapest I've seen.

I ordered a service manual from CC - unfortunately they say it will take 10 days to get here. Can I get an overview of the steps needed to get the transmission off?

Eg, 1-drain fluid, 2-remove seat, 3-remove fender, .... I'd like to get started.

For others who might need to do this, the troubleshooting guide on http://www.m-and-d.com/pdfs/hydrogear/hydrogear_T_Shoot.pdf is a 30+ page description of how to service the charge pump itself.

Wish there was a Series 3000 Service Manual online, but there's not.
 
/ 3225 Hydraulics Problem #20  
My 3000 came with a manual for installation of the 3 pt hitch. It had all the instructions for removing everything to get at the back end. If that would be helpful, I'd be happy to PDF it and send it along. Send me a PM.
 
 
Top