Backhoe Broke my tractor..

/ Broke my tractor.. #1  

hurricanoday

Member
Joined
Jul 29, 2016
Messages
44
Location
Olalla, WA
Tractor
1025R
/ Broke my tractor..
  • Thread Starter
#3  
You broke power beyond hose?

I broke the one with the curved fitting. Does anyone have any info on removing it from the manual? I really don't like messing with stuff under warranty but am not paying 200 for them to come out.

makes me rethink the powergard with the travel costs. I'm right at 40hrs so I am do for service soon and it is just starting to get nice in Washington.
 
/ Broke my tractor.. #4  
Just take it off and take it to them to get another one. If they will let you. Or take tractor to them and get it fixed and serviced. lol
 
/ Broke my tractor.. #5  
Well didn't break the tractor (1025R) but I did spring a leak from one of the hydraulic lines that connect the 260 to the 1025R. Dealer wants 55 for the hose and 200+ to come fix it. I didn't ask for the part number, but according to this picture it is AME017451.

http://www.tractorbynet.com/forums/...293359-260-backhoe-hose-problems-img_6756-jpg

Should I just take it off if it is under warranty?

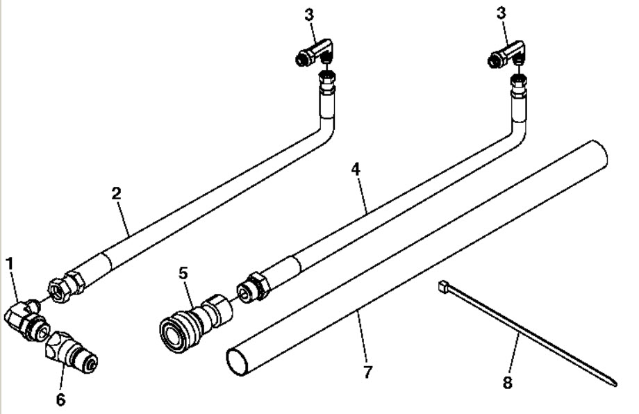
It is unclear from the photo which specific hose is leaking. Is it one of the Power Beyond hoses that is part of the tractor or is it one of the pressure hoses that is part of the 260 backhoe? The P/N AME017451 is not a valid part number.

Below are parts diagrams of the Power Beyond and 260 pressure hoses.

Power Beyond
Power_Beyond.jpg

260 Pressure Hoses
260_hoses.jpg

The hoses should be able to be removed by unscrewing the coupling. Also, are you certain it is the hose itself that is leaking and not one of the fittings?
 
/ Broke my tractor.. #6  
It is unclear from the photo which specific hose is leaking. Is it one of the Power Beyond hoses that is part of the tractor or is it one of the pressure hoses that is part of the 260 backhoe? The P/N AME017451 is not a valid part number.

Below are parts diagrams of the Power Beyond and 260 pressure hoses.

Power Beyond
View attachment 504550

260 Pressure Hoses
View attachment 504551

The hoses should be able to be removed by unscrewing the coupling.

I think he broke #7 in first pic.
 
/ Broke my tractor.. #8  
If so, that hose should just unscrew. It is P/N AM105465 ($62.21)

Yes your correct. Idk what the issue is. If it's warranty order the part and change it out by walk in and exchange hoses. If it's a good dealership they will do it. Or just take tractor in and get service and fix.
 
/ Broke my tractor.. #9  
Yes your correct. Idk what the issue is. If it's warranty order the part and change it out by walk in and exchange hoses. If it's a good dealership they will do it. Or just take tractor in and get service and fix.

It sounds like the OP doesn't have a way to transport the tractor and didn't want to pay $200 for an on-site visit, which I can't blame him if all that needs to be replaced is a hose. Hopefully the dealer will be cooperative but some will insist that they perform the warranty repair. There is some risk with them just handing over the part as they have no idea if the hose is really bad. It could be leaking somewhere else and the OP just thought it was the hose. Again, a reason why some dealers insist on performing the warranty repair themselves.

Then again, if it is warranty why did the dealer say they wanted $55 for the part on top of the on-site service fee?

If he has to pay for the part AND labor then it's a no-brainer ($62.21 vs. $261.21). I would simply buy the hose and replace it myself.
 
/ Broke my tractor.. #10  
It sounds like the OP doesn't have a way to transport the tractor and didn't want to pay $200 for an on-site visit, which I can't blame him if all that needs to be replaced is a hose. Hopefully the dealer will be cooperative but some will insist that they perform the warranty repair.

Then again, if it is warranty why did the dealer say they wanted $55 for the part on top of the on-site service fee?

If he has to pay for the part AND labor then it's a no-brainer ($62.21 vs. $261.21). I would simply buy the hose and replace it myself.

On something like that warranty won't pay for travel. There are several ways to work this if dealer is willing to help the customer out. I've done it several times.
 
/ Broke my tractor..
  • Thread Starter
#11  
it is the hose on the backhoe that connects to the tractor. The one with the elbow/bend in it I believe, I will have to double check tonight. Now that I looked at the picture maybe that isn't correct. There are 2 hoses from the back hoe to the tractor one has the bend in it while the other lays flat on the step. I assume they are the hydraulic feed and return lines?

The tractor is under warranty, but yes has jgayman has said I can't take it there and honestly don't want to mess with the tractor I just spent 20k on it with 40hrs. I will probably end up trying to take the line off, just wanted to check in here first with people who has experience. I just called the parts department and ordered the hose to get it coming. The service said they have to see the hose first and I figured either way I need the house. But it should be covered. There are no major rub marks

So sisupower now you know what the issue is.
 
/ Broke my tractor.. #12  
it is the hose on the backhoe that connects to the tractor. The one with the elbow/bend in it I believe, I will have to double check tonight. Now that I looked at the picture maybe that isn't correct. There are 2 hoses from the back hoe to the tractor one has the bend in it while the other lays flat on the step. I assume they are the hydraulic feed and return lines?

The tractor is under warranty, but yes has jgayman has said I can't take it there and honestly don't want to mess with the tractor I just spent 20k on it with 40hrs. I will probably end up trying to take the line off, just wanted to check in here first with people who has experience. I just called the parts department and ordered the hose to get it coming. The service said they have to see the hose first and I figured either way I need the house. But it should be covered. There are no major rub marks

So sisupower now you know what the issue is.

Good. As long as everyone is willing to take care of you. The dealer can get it don't right on their end and you walk away with no money spent and a new hose.
 
/ Broke my tractor.. #13  
My main goal at work is to fix tractors right and take care of the customer any and every way I can.
 
/ Broke my tractor.. #14  
it is the hose on the backhoe that connects to the tractor. The one with the elbow/bend in it I believe, I will have to double check tonight. Now that I looked at the picture maybe that isn't correct. There are 2 hoses from the back hoe to the tractor one has the bend in it while the other lays flat on the step. I assume they are the hydraulic feed and return lines?

The tractor is under warranty, but yes has jgayman has said I can't take it there and honestly don't want to mess with the tractor I just spent 20k on it with 40hrs. I will probably end up trying to take the line off, just wanted to check in here first with people who has experience. I just called the parts department and ordered the hose to get it coming. The service said they have to see the hose first and I figured either way I need the house. But it should be covered. There are no major rub marks

So sisupower now you know what the issue is.

Thank you for the follow-up. The hose you are referring to is a straight hose, it simply has a 90-degree elbow attached. Unless they are ordering the additional parts you will have to reuse the elbow and quick-connect coupler so hopefully those aren't where the leak is. The hose you are referring to is LVA20793 ($50.73).
 
/ Broke my tractor.. #15  
I don't know about this particular hose - that is, whether it is somehow special in some way. But when I have damaged one of my hoses, or otherwise find a leak, I have disconnected the hoses and taken them in to a business that makes hydraulic hoses and while I have waited they make a perfect match - specs, fittings and all. They even have the kind of hose wrap / protector that your picture shows. After the trip to town and back I am back on the seat the same day.
 
/ Broke my tractor..
  • Thread Starter
#16  
If you look at the picture I linked in my first post, it is the hose that is under the "p" sticker. It quick connects to the tractor and then runs down the backhoe. I did a search and didn't find any info on removing it.

I assumed Deere would have the hose already together and ready to go.
 
/ Broke my tractor.. #17  
I did a search and didn't find any info on removing it.

I am rather certain it is removable. You may be like I was the first time I had a hydraulic hose issue - I knew very little about it and was not sure how to proceed- no confidence that I knew enough - but I live far from a dealer and needed my tractor. Once I got the confidence to tackle it, it was not such a big deal to remove and replace the hoses. There may even be a youtube video out there demonstrating how the connections work - it won't be the same hose you have but the components and process should be similar.
 
/ Broke my tractor.. #18  
I don't know about this particular hose - that is, whether it is somehow special in some way. But when I have damaged one of my hoses, or otherwise find a leak, I have disconnected the hoses and taken them in to a business that makes hydraulic hoses and while I have waited they make a perfect match - specs, fittings and all. They even have the kind of hose wrap / protector that your picture shows. After the trip to town and back I am back on the seat the same day.
I was just going to post the same advice. I found my 'local' hydraulic hose shop by asking at my NAPA auto parts dealer. Worked out great. Took the mating fittings to them and they made sure the hose was to the right spec and built a new one while I waited. I would guess it will end up less than $50 as well.
 
/ Broke my tractor.. #19  
If he is close enough to the Deere dealer then he doesn't have to spend money to get the same hose. Deere doesn't keep it in stock. If they have another kit they might switch it out and send kit back or just make one in house. But if it is warranty they have to order it. He just has to take hose off with couple wrenches and make sure no one starts tractor without that hose on. Cover up where it connects to tractor so dirt doesn't get in. Simple.
 
/ Broke my tractor.. #20  
Surely the OP has a neighbor or a friend who knows a little more about removing hydraulic hoses, and can give some assistance. And glad to see sisu mention not running the tractor with that hose off. .. and good to remove all pressure from the hydraulics by moving the joy stick around with engine off.
 

Marketplace Items

2012 BRENNER TANK PUP TRAILER (A67714)
2012 BRENNER TANK...
2012 Ford F-250 Crew Cab Pickup Truck (A64556)
2012 Ford F-250...
2014 CHEVROLET CAPRICE (A66091)
2014 CHEVROLET...
2023 JOHN DEERE 160P EXCAVATOR (A65056)
2023 JOHN DEERE...
2004 JOHN DEERE 304H WHEEL LOADER (A65056)
2004 JOHN DEERE...
PORTA POTTY (A67714)
PORTA POTTY (A67714)
 
Top