California
Super Star Member
- Joined
- Jan 22, 2004
- Messages
- 16,633
- Location
- An hour north of San Francisco
- Tractor
- Yanmar YM240 Yanmar YM186D
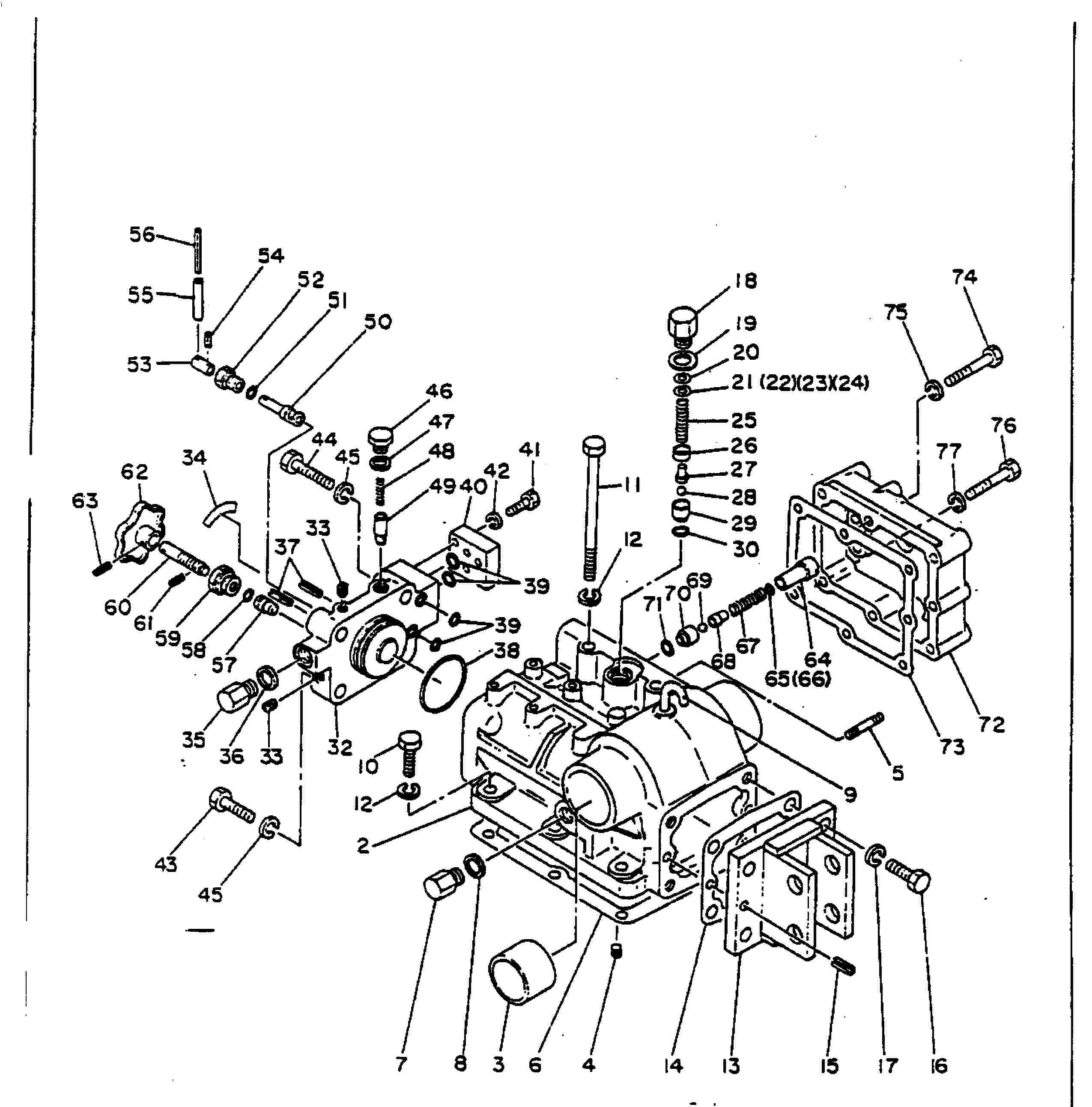
Yes, my 'cover' = 'front'. The removable half of the block.
Your arrangement with ports lined up makes more sense than mine that has right angles in the fluid path.
I thought about a groove in the cover and O-rings, but if there were a groove then the o-ring wouldn't contact anything as it goes across the groove. Therefor a leaky cover.
Your arrangement with ports lined up makes more sense than mine that has right angles in the fluid path.
I thought about a groove in the cover and O-rings, but if there were a groove then the o-ring wouldn't contact anything as it goes across the groove. Therefor a leaky cover.

