What is it? Found along the railroad tracks.

   / What is it? Found along the railroad tracks. #31  
Wrong all the way. It is a pellet feeder for the hamster in the wheel. The wheel drives the winder.

Harry K

By gosh, I think you are right. Except I think the hamster winds up the rubber band for stored energy before he quits in case the train comes by at night while he is sleeping.
 
   / What is it? Found along the railroad tracks. #32  
I did not see the hamster in diagram....where is the freakin hamster?
I did not see any holes in the rails to allow the grease to get to the business end of the track. Are the holes very small? Perhaps the lack of grease, or permission of excess friction, allowed the rails to "heal" the holes???

HEY TERRY! Thanks for all that. :thumbsup: I appreciate getting the skivvy from the experts. Doesn't always happen that way around here.
Is the grease still necessary or have they developed an axle that allows the wheels to turn independently...? Perhaps this turn is not tight enough to get the maintenance anymore...changed the specs? I haven't looked at a train axle in a long time.
 
Last edited:
   / What is it? Found along the railroad tracks. #33  
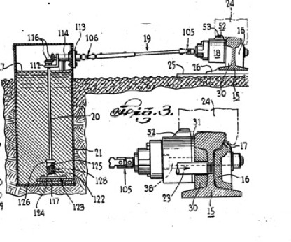
Here is a patent drawing of the lubricator with a drive shaft.

View attachment 346687

Full diagram:
http://patentimages.storage.googleapis.com/pages/US2486600-0.png

Patent:
Patent US2486600 - Rail lubricator - Google Patents

Secured to the other side of rail is plunger mechanism,... including a plunger adapted to be depressed by the treads of wheels. The plunger mechanism operates through suitable clutch mechanism, ... to drive uni-directionally a flexible shaft extending to a lubricant tank set in the ground alongside the track and filled with lubricant ... The flexible shaft drives a vertical shaft in the tank which in turn drives a series of gear pumps...

Bruce

Well done Bruce. Thanks
 

Tractor & Equipment Auctions

RHINO DB150 LOT NUMBER 73 (A53084)
RHINO DB150 LOT...
2008 Ford F-450 Service Truck (A53422)
2008 Ford F-450...
2007 International 4400 2,000 Gallon Water Truck (A52377)
2007 International...
2013 John Deere 824K Wheel Loader (A55218)
2013 John Deere...
2008 Dodge Avenger Sedan (A53424)
2008 Dodge Avenger...
2014 Ford F-150 Ext. Cab Pickup Truck (A53422)
2014 Ford F-150...
 
Top